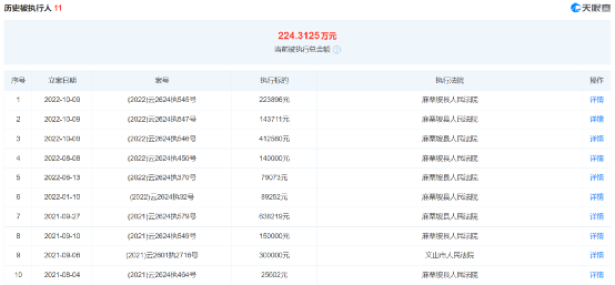
见习记者 骆吴 ST三盛(300282)11月2日晚发布公告称,克日公司与公司董事长林荣滨收到证监会下发的《存案告知书》,因公司涉嫌信息披露违法违规被存案。 当晚,厚交所告急下发关注函,要求核实分析公司被存案观察的详细缘故起因、收购款中乞贷资金泉源等焦点题目。 此前,中国基金报10月7日曾刊发文章(拜见《稀有!副董事长投票反对,这家A股“秘密新主”幕后另有大玩家?》),分析了ST三盛此次现实控制人变动事项。 厚交所连夜告急下发关注函 ST三盛表现,存案观察期间,公司将积极共同证监会的各项工作,严酷按照规定推行信息披露任务。 10月31日晚间,ST三盛披露了《关于申请取消对公司股票生意业务实行其他风险警示的公告》《向特定对象发行股票预案》《关于签署股权收购意向书的公告》等公告,引发市场广泛关注。 针对证监会的《存案告知书》,11月2日晚,厚交所连夜告急下发关注函,要求核实分析公司被存案观察的详细缘故起因及事项,是否涉及公司违规包管事项,公司是否存在尚未披露的信息披露违法违规举动。同时,还要求核实分析存案观察事项对公司控制权变动及违规包管事项办理的影响。 同时,对于公司日条件交的有关取消公司股票生意业务其他风险警示的申请,厚交所还要求团结公司及干系当事人被证监会存案观察的环境,进一步核实分析公司是否满足申请取消其他风险警示的条件。 别的,对于公司2021年年报中管帐师出具的《关于公司非策划性资金占用及其他关联方资金往来环境汇总表的专项审计陈诉》表现,管帐师将上述违规包管认定为在2021年期末现实控制人及关联方占用公司资金余额为10亿元,厚交所要求管帐师针对上述资金占用事项的消除环境并团结前述题目所涉事项举行核查并发表专项意见。 受到存案观察影响,该股本日早盘大跌,盘中跌幅最高10%,停止10点左右,大跌8%! 特别关注收购款中乞贷资金的泉源 9月28日,ST三盛控股股东福建卓丰投资合资企业(有限合资)与深圳市太力科新能源科技有限公司签署《股份转让协议》,太力科拟受让卓丰投资持有的公司股票约7411.27万股,占公司总股本的19.80%。股份转让完成后,太力科将成为公司新的控股股东。消息发布后,公司股价一连上涨,厚交所也随后下发问询函。 11月2日晚,ST三盛披露了《股份转让协议》最新渴望。停止10月24日,第一笔款子付出完毕。11月1日,第二笔价款2.21亿元付出完毕。停止11月2日,《股份转让协议》付款任务推行完毕。 公告资料表现,太力科付出的8.21亿元股份转让款中,2.04亿元为自有资金,3.96亿元为北京中瑞弘远商贸有限公司提供的乞贷,剩余2.21亿元拟通过向金融机构和投资公司乞贷的方式取得。 针对上述环境,厚交所关注函要求增补披露中瑞弘远的建立时间、股权布局及内部管理布局等信息,核实分析中瑞弘远向太力科提供的资金的详细泉源、干系乞贷是否存在包管、包管或其他长处安排。 而且,还要核实分析戴德斌、刘凤民是否与中瑞弘远及其股东、董监高等职员存在关联关系或其他长处关系,是否存在基于上市公司股权的其他协议或约定,是否存在股权代持等环境,并团结上述题目标复兴分析认定戴德斌为公司现实控制人的依据及公道性。 天眼查表现,北京中瑞弘远商贸有限公司建立于2022年7月15日。 厚交所要求,核实分析戴德斌后续归还上述收购乞贷的筹划及资金泉源,并充实披露其未能准期归还干系资金的风险、对公司控制权稳固性的影响等。 关注函还表现,《回函》表现,太力科收购上市公司19.8%股份的资金紧张来自于乞贷,请核实分析太力科拟认购公司定向发行股份的资金泉源,是否存在第三方乞贷大概杠杆融资的环境,是否存在对外召募、代持、布局化安排大概直接间接使用上市公司及其关联方资金用于本次认购等环境。 要求增补披露 收购是否涉及高污染、高能耗项目 11月1日,ST三盛披露的《关于签署股权收购意向书的公告》表现,公司拟接纳付出现金的方式收购麻栗坡天雄新质料有限公司(以下简称“天雄新材”、“标的公司”)不低于51%的股权,据开端把握资料,本次生意业务预计不构成《上市公司庞大资产重组管理办法》规定的庞大资产重组。 对此,厚交所要求ST三盛增补分析上述收购的发起人、决议过程及关键时点,以及公司管理层、董事会在收购过程中的勤勉尽责环境。 增补分析本次生意业务是否会导致公司主业务务发生庞大变动,如是,请进一步分析是否与《详式权益变动陈诉书(修订稿)》中将来12个月内对上市公司主业务务作出庞大调解的筹划的形貌相抵牾;如否,请充实分析本次生意业务是否会对公司生产策划及财政状态产生庞大影响。 增补分析本次生意业务拟收购标的公司不低于51%的股份缘故起因及公道性,后续是否存在收购标的公司剩余股权的安排,是否存在规避推行股东大会审议步调、庞大资产重组考核步调的环境。 核实分析本次资产购买生意业务是否与太力科收购卓丰投资所持公司股份的生意业务构成一揽子生意业务,戴德斌、太力科及其关联方与标的公司及其股东、实控人及关联人等干系各方是否存在关联关系或其他长处安排。 核实分析本次生意业务是否从前述股权转让及现实控制人变动、《向特定对象发行股票预案》乐成实举动条件。 对于天雄新材紧张产物为电解锰的特点,厚交所还要求ST三盛增补披露标的公司生产策划模式,并团结标的公司所处行业发展趋势、紧张产物代价颠簸环境、市场竞争格局、紧张策划资产、业务资质平分析分析公司收购标的公司的须要性,为进入新的范畴所做的职员、技能、管理储备和可行性分析,并就投资进入新行业事项予以庞大风险提示。 增补披露本次收购是否涉及高污染、高能耗项目,是否需推行主管部分审批或批准步调,能耗、环评等环境是否符合有关政策要求。 从天眼查披露的干系信息来看,拟收购标的天雄新材现在存在一些风险因素,被实行总额为224万元。 编辑:黄梅 |

专注IT众包服务
平台只专注IT众包,服务数 十万用户,快速解决需求

资金安全
交易资金托管平台,保障资 金安全,确认完成再付款

实力商家
优秀软件人才汇集,实力服务商入驻,高效解决需求

全程监管
交易过程中产生纠纷,官方100%介入受理,交易无忧

微信访问
手机APP
关于我们|广告合作|联系我们|隐私条款|免责声明| 时代威客网
( 闽ICP备20007337号 ) |网站地图
Copyright 2019-2024 www.eravik.com 版权所有 All rights reserved.


