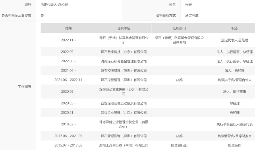
中国基金报记者 吴君 72岁王石又创业了,这次是进军私募基金行业。 最新存案登记信息体现,“深石(无锡)私募基金管理有限公司”本年4月在中国证券投资基金业协会完成了私募基金管理人的存案登记,机构范例是私募股权、创业投资基金管理人。穿透股权结构可以看到,这家新锐私募机构的实控人是着名企业家王石。 在2017年从万科退休以后,王石再创业,不但做体育方面的投资,创建深潜DeepDive,还进军碳中和赛道,投资太阳能发电技能公司,如今再存案私募,将来想要做什么,我们一起来看看。 深石私募基金完成存案 背后实控人是王石 基金业协会网站最新信息体现,“深石(无锡)私募基金管理有限公司”在本年4月11日完成了私募股权、创业投资基金管理人的存案登记。其创建于2022年11月1日,注册资源为1000万元人民币,注册资源实缴比例为30%。公司的办公地在北京向阳区,如今共有7名全职员工,此中有4位取得了基金从业资格。 值得注意的是,深石私募基金由深石控股管理(深圳)有限公司100%控股;穿透股权结构,可以看到背后的实际控制人是着名企业家王石。他间接持有深石私募基金94.05%的股权比例。 公开资料体现,王石现年72岁,他是万科企业股份有限公司首创人,曾任团体董事会主席;他还曾经兼任中国房地产协会常务理事、中国房地产协会都会住宅开辟委员会副主任委员、深圳市房地产协会副会长、亚布力中国企业家论坛轮值主席。 2017年王石公布退休,不再担当万科董事长;2017年11月他创建了深石管理咨询(深圳)有限公司,持股99%为大股东,深石管理是一家以从事体育为主的企业;随后在2021年6月还创建了深石控股管理(深圳)有限公司,持股95%也是大股东,深石控股则是一家以从事金融业为主的企业。 如今退休几年后的王石计划进军私募基金行业,创建深石(无锡)私募基金管理有限公司,并完成私募管理人存案,意味着他将来将从事一级市场的股权投资、创业投资。 相干信息体现,王石如今担当深石私募基金的实行董事,而公司的法定代表人、总司理是张天,监事是彭学运。 王石创业做私募以后的合资人有着金融从业配景。基金业协会网站信息体现,公司法人兼总司理张天,曾经是摩根士丹利证券(中国)有限公司投资银行部投资司理,2017年8月到场深石管理咨询(深圳)有限公司,担当公司首席运营官/首席财政官。 尚有,深石私募基金的副总司理王安琪则有着深厚的私募股权投资配景,从2015年到2022年,她先后任职于华兴资源、元启资源、创新工场、明越资源等多家着名投资机构,2022年11月到场深石私募基金担当公司投资总监。 创建私募基金 王石将来想干什么? 那么,如今王石到场私募行业,将来做股权创业投资,紧张关注什么方向呢? 根据天眼查提供的信息,如今深石资源已有几个投资项目,包罗在2018年投资了深潜DeepDive,这是一款活动交际软件;2022年1月,深石资源还投资了深潜体育文化,是一家体育赛事服务商。 “深潜DeepDive”是王石在离职万科董事局主席之后的二次创业项目,提倡新的生存方式;旗下产物涵盖深潜学院(企业家培训课程)和深潜少年班(青少年培训课程),尚有水上活动基地、线下赛艇赛事的运营。 众所周知,王石酷爱活动,包罗爬山、长跑、滑雪等,他都有涉足。他在英国作访问学者时,就到场了剑桥大学的赛艇活动,今后以后一发不可摒挡。厥后他在国内开办了“深潜”,专注于赛艇的培训和赛事。 2022年4月深石资源还投资了深绿科技,是一家太阳能发电技能服务商。据相识,这几年开办深石,王石就开始对准低碳减排的巨大市场空间。他曾经先容,已“接单”包罗住民楼、写字楼的减排改造和产业园的绿色低碳升级项目。据相识,“深石”的低碳减排业务所作的只是咨询服务,不涉及项目施工,属于“轻资产”。 王石在本年上半年继续36氪采访时体现,在国家提出碳达峰、碳中和目的,他便做出了创业的决定——进军碳中和赛道。创业后,他的首个碳中和项目是把深圳大梅沙的原万科总部万科中心和一个住宅小区,打造成融办公、学习、居住、休闲和活动于一体的“碳中和社区”,并定名为“生物圈三号”。如今这片碳中和实行园区的绿电占比在一期改造后已经到达了85%,之后将到达100%。 将来十年,王石的雄心规划是创建起一个成熟的碳中和社区平台,在国内打造五个碳中和社区的树模区,并将业务拓展到欧盟等地域。 编辑:舰长 考核:许闻 |

专注IT众包服务
平台只专注IT众包,服务数 十万用户,快速解决需求

资金安全
交易资金托管平台,保障资 金安全,确认完成再付款

实力商家
优秀软件人才汇集,实力服务商入驻,高效解决需求

全程监管
交易过程中产生纠纷,官方100%介入受理,交易无忧

微信访问
手机APP
关于我们|广告合作|联系我们|隐私条款|免责声明| 时代威客网
( 闽ICP备20007337号 ) |网站地图
Copyright 2019-2024 www.eravik.com 版权所有 All rights reserved.


