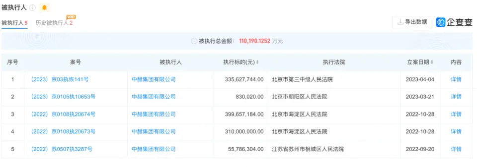
每经编辑:程鹏,盖源源 年初,一段5秒的“万柳书院少爷”视频让北京万柳书院豪宅火出圈,天下皆知。迩来,该豪宅陷入了抵押风波。 5月7日,京东拍卖网站挂出了一则“北京赫华恒瑞房地产开辟有限公司不良债权转让项目”推介信息,中国信达北京分公司对47亿不良债权举行转让,对应的抵押物中便包罗万柳书院75套住宅。制止发稿,这则公告引来1万+次围观以及吸引了30名意向人。是现在中国信达全部招商债权中关注度最高的一个。 万柳书院是北京着名豪宅项目,开辟商中赫置地11年前击退一众房企,以26.3亿元的代价拿下这块地,并在2015年以14.5万元/平方米的代价推出项目。客岁该小区一套300平方米的法拍房,拍出36万元/平方米的高价,再次在业内名声大噪。 据中国基金报援引此前公开报道,万柳书院共14栋板楼,5-7层南北通透花圃洋房,一梯一户,2-3个单元,每套房在205-558平米之间不等,统共301户,而且早已售罄。 但是在此次京东拍卖公告详情里,万柳书院小区此次被挂牌转让的75套住宅楼号、单元号和房号均已详细列出,房源状态为“未售”。 一次债权转让,折射了北京顶豪万柳书院的“家底”。 万柳书院75套未售住宅被抵押 知情人士:属通例融资举动 日前,京东法拍上架了一则来自中国信达的资产推介消息,中国信达资产管理股份有限公司北京市分公司(下称信达北分)作为处理主体,转让北京赫华恒瑞房地产开辟有限公司(下称主债务人)46.9505亿元的不良债权,此中债权本金达37.5亿元,利钱和其他费用暂不详。 这次推介之以是引发关注,重点在于主债务人拿出的抵押物——北京着名豪宅万柳书院75套房产。 如果根据这次债权上拍的46.9505亿元盘算,这75套房源的均价约6266万元。若按中原地产这5套房源中面积最小的218平方米盘算,单价也要约28.7万元/平方米。 但如果企业是多年前做的抵押,而抵押价低于时价的话,则现在仍难以全面归还债务。 现在,这笔推介已经有30位意向人,围观次数已达1万+。 根据推介公告,中赫团体是共同债务人。万柳书院是主债务人名下现在唯一开辟和贩卖的楼盘,属于现房贩卖,已售房产已经正常交房和入住。项目到期日为2025年3月份,债务人曾存在逾期等违约情况。 北京豪宅圈有句顺口溜“万柳的墙,西宸的缸,霄八的顶,融创的湖,紫辰院的树,北平府的院子住着谁”,起首提到的就是万柳书院。由于绝佳的地理位置和教诲资源,万柳书院备受高净值人群青睐,网传遐想团体首创人柳传志、滴滴出行总裁柳青等均在此有房。 在此次法拍之前,百万元天价停车位、法拍房36万元/平方米成交等,都是围绕在万柳书院身上的秘密光环。海淀焦点区位,名校围绕,早已一房难求。且动辄数万万元以致上亿元的房价,让万柳险些成为都城顶豪的代名词。 然而,此则京东法拍公告曝出后又疑云重重。据此前媒体报道,万柳书院统共301户,而且早已售罄。但现在75套住宅全部体现未出售。据第一财经,也有未经证实的消息称,这75套房现实已经卖出、只是还没网签。一位专做北京豪宅的中介张峰(化名)告诉记者,万柳书院前两年就卖完了,这70多套房子已经卖出,客户交完钱、大部门已经入住了。但是开辟商之前把这些房子抵押出去,现在还没资金解抵押,以是不能网签、没办房本。 《逐日经济消息》记者相识到,债务所涉75套抵押房涉及2、3、4、5、6、7、8、9号楼,以及12、13、14、15号楼。随跋文者从北京市建委网站查询,抵押房属于未贩卖状态。 以15号楼为例,北京市住建委网签表中的“未签约”状态房源,与京东法拍给出的15号楼抵押房源划一,为101、102、301、302。 据北京市住建委数据,万柳书院2015年1月拿到首张2号楼的预售证,答应贩卖套数56套,拟售代价14.1万元/平方米;已签约住宅套数38套,成交均价15.36万元/平方米。 2015年7月,万柳书院拿到12号楼5套房的预售证,拟售代价来到16.5万元/平方米,现在网签2套,成交均价20.8万元/平方米。 记者从知情人处获悉,房企由于借债而抵押的住房,只能是未贩卖房源,否则会出现一房两卖。也就是说,现在已购房的业主没有丧失,“房子未出售就抵押了,业主长处没有丧失。” 另据央广网,北京金诉状师变乱所实验主任王佳红状师则表现,如果房屋已经售卖,就要确定业主是否拥有优先权,同时业主可以提出实验贰言,如许房源或不能被抵押查封拍卖。 靠近中赫团体的知情人士对记者表现,对不良债权的处理属于通例融资举动,现在中国信达北分与中赫团体正在就抵押物处理等题目举行积极协商,或将于近期有新动作。 一套房过亿 秘密开辟商却成了“老赖” 在北京,顶级豪宅小区万柳书院着名度极高,超40亿元的债权转让更是让背后开辟商也走入大众视野。 据第一财经,作为万柳书院的开辟方,中赫团体在业内较为低调,首创人周金辉也非常秘密,他曾被选为中国文化财产协会副会长,同属该职位的人另有马云、马化腾等大佬,厥后周金辉卸任了该职务。 现在可见的信息体现,周金辉1974年出生于河北定州市,父亲是寻常工人。周金辉从前在唐山做小交易,之后与李彩霞等人涉足房地产,创建了唐山新绿洲房地产开辟有限公司,在唐山得到第一桶金之后,周金辉开始赴京发展。 2005年,中赫团体在京创建,最开始业务会合在投资房地产开辟以及装饰工程等范畴。2006年,中赫置地创建,是中赫团体旗下全资子公司,开始走高端豪宅蹊径,在北京相继打造了万柳书院、北纬40°、垂纶台七号院等多个项目,此中“垂纶台七号院”曾在2011年开出30万元/平方米高价,革新了北京最贵住宅记载。 万柳书院项目从拿地到问世,更是布满看点。早在2012年,中赫置地以总价26.3亿元、1.64万平米回购方面积拿下万柳地块,楼面价到达4.29万平方米。当时,融创孙宏斌还曾发微博称:庆贺中赫竞得万柳地块,这块地好坏常有数的优质地块,信赖中赫能做出好产物来。 颠末三年开辟打造,2015年万柳书院初次入市,贩卖直接冲上豪宅成交冠军,乃至有坊间说法称“偕行观光学习都要提前预约”、“北京豪宅的止境是万柳书院”。 万柳书院确实位于北京的焦点位置——北京海淀区传统的高档社区腹地,项目总修建面积约14万平方米,包罗14栋住宅修建,间隔中关村不外4公里,与颐和园的直线间隔不凌驾2公里,周边还围绕着清华、北大、人大附小、附中、中关村三小等名校,片区被称为北京最强学区之一。 客岁,万柳书院一套300平米的法拍房,终极成交价1.09亿、单价到达惊人的36万元/平米。一位专做北京豪宅的中介张峰(化名)告诉第一财经记者,现在万柳书院在售二手房均价凌驾20万,业主大多是企业总裁级别以上等资金力气较强的人。 值得一提的是,万柳书院少少有二手房源放出,多家二手中介平台也无此业务。据记者梳理,制止现在中原地产有5套万柳书院房源在售,挂牌均价约28万元/平方米。代价最高的一套323平方米的5室2厅户型,报31.8万元/平方米,总价1.03亿元。 因价高质优,外界一度给中赫贴上地产中的“劳斯莱斯”、“卖北都城最贵的房,拿北都城最贵的地”等标签。不外总体而言,中赫打造的地产项目并不多,反而反复在多元财产范畴发力,从石油到体育、从互联网团购到文旅项目。中赫于2017年控股了国内足坛传统权门——北京国安足球俱乐部。 只管开辟的豪宅成为都城富人们的“心头好”,但是中赫置地却反复登上“老赖”名单。 据企查查App体现,中赫团体有限公司也存在多个被实验人信息,被实验总金额超11亿元,被实验人还包罗旗下中赫置地有限公司、北京国安足球俱乐部有限责任公司等。 2023年1月4日,因有推行本领而拒不推行收效法律文书确定任务,北京国安足球俱乐部有限责任公司、中赫团体有限公司、中赫置地有限公司、中赫置地投资控股有限公司等新增2则失信被实验人(老赖)信息,实验法院为北京市海淀区人民法院。两案件均于客岁10月被欺压实验,实验标的共计5亿元。 反复踩雷 此次处理的75套万柳书院的房产,属于北京赫华恒瑞房地产开辟有限公司。而该公司由中国信达旗下的金谷信托100%持股。 股东信息体现,北京赫华恒瑞曾由中赫团体有限公司控股,2019年4月,原股东中赫团体有限公司及旗下中赫置地有限公司、苏州好景房地产开辟有限公司均退出股东,中国金谷国际信托有限责任公司(以下简称“金谷信托”)全资入股。金谷信托创建于1993年,现在注册资源22亿元,由中国信达资产管理有限公司持股93.75%,中国妇女运动中央持股6.25%。 风险信息体现,本年4月,北京赫华恒瑞及中赫置地有限公司因条约纠纷被欺压实验2007万余元。 值得注意的是,这并不是金谷信托第一次踩雷房地产项目。2018年7月,金谷信托接办了刚泰团体旗下的台州博泰,一年半后,刚泰团体出现了债务危急,中国信达遂将台州博泰挂拍,债权总额为11.8亿元。 2019年,金谷信托又对上海渝康举行投资,上海渝康将其持有的上海叁生100%股权,转让给金谷信托。随后,上海渝康等各方仍付出相干款子,金谷信托要求法院判令其付出本金、违约金共计12.79亿。 2022年,中国信达上海分公司拍卖长风公寓项目即金谷·汇银73号单一资金信托的信托受益权,对应的是上海渝康,后又流拍。 别的,金谷信托还“踩雷”多家地产公司,此中包罗中原幸福17亿,协信地产11亿等。 编辑|程鹏 盖源源 校对|刘思琦 封面图片泉源:房天下 逐日经济消息综合自每经app(记者:陈梦妤)、中国基金报、第一财经、企查查、央广网 |

专注IT众包服务
平台只专注IT众包,服务数 十万用户,快速解决需求

资金安全
交易资金托管平台,保障资 金安全,确认完成再付款

实力商家
优秀软件人才汇集,实力服务商入驻,高效解决需求

全程监管
交易过程中产生纠纷,官方100%介入受理,交易无忧

微信访问
手机APP
关于我们|广告合作|联系我们|隐私条款|免责声明| 时代威客网
( 闽ICP备20007337号 ) |网站地图
Copyright 2019-2024 www.eravik.com 版权所有 All rights reserved.


