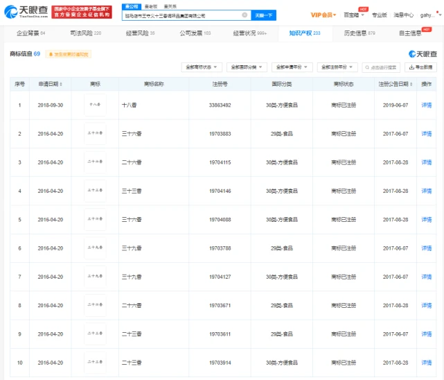
中国经济周刊—经济网讯 据媒体报道,9月8日破晓,苹果召开秋季新品发布会,发布了iPhone14系列配色及售价。据相识,iPhone 14、iPhone 14 Pro及14 Pro Max三款机型起售价与前一代雷同。 客岁iPhone13发布后,王守义十三香也跟着火了。在王守义专卖店肆里,很多网友问,十三到底香不香。现在iPhone 14出来了,又有网友问“十四香不香?”“十四香照旧十三香?” 天眼查App表现,“十四香”商标已被驻马店市王守义十三香调味品团体有限公司乐成注册,其申请时间为2002年,国际分类为方便食品。停止现在,王守义公司已乐成注册“十二香”至“十八香”商标,以及“二十三香”“二十六香”“三十六香”“三十九香”商标,国际分类多为方便食品、食品。 新媒体编辑:崔晓萌 一审:崔晓萌 二审:何颖曦 三审:周琦 |

专注IT众包服务
平台只专注IT众包,服务数 十万用户,快速解决需求

资金安全
交易资金托管平台,保障资 金安全,确认完成再付款

实力商家
优秀软件人才汇集,实力服务商入驻,高效解决需求

全程监管
交易过程中产生纠纷,官方100%介入受理,交易无忧

微信访问
手机APP
关于我们|广告合作|联系我们|隐私条款|免责声明| 时代威客网
( 闽ICP备20007337号 ) |网站地图
Copyright 2019-2024 www.eravik.com 版权所有 All rights reserved.


