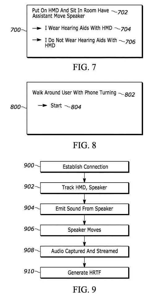
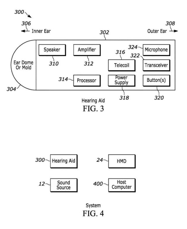
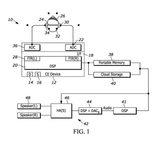
检察引用/信息源请点击:映维网Nweon 利用包罗麦克风、信号处理惩罚器和扬声器的助听器,以及可以追踪头部的AR/VR头显来资助捕捉HRTF (映维网Nweon2023年02月21日)头相干转达函数HRTF用于调治声音进入耳朵的方式,以模拟由于情况、头形、耳形、肩部反射等造成的真实天下厘革影响。创建HRTF的一种传统方法是在一间特殊房间中将小型麦克风放到人耳之内,并在房间配备多个声源以播放可由麦克风检测到的测试音。 在名为“Using bluetooth / wireless hearing aids for personalized hrtf creation”的专利申请中,索尼提出利用包罗麦克风、信号处理惩罚器和扬声器的助听器,以及可以追踪头部的AR/VR头显来资助捕捉HRTF。 图1示出了示例体系10,包罗在体系10中的示例性装备是示例性消耗电子(CE)装备12。CE装备12可以由图1中所示的组件来创建。比方,CE装备12可以包罗一个或多个表现器14,用于输出音频的一个或更多个扬声器16,以及一个或多个网络接口18等等。 CE装备12同时可以包罗一个或多个输入端口22,从而以物理情势接到诸如AR/VR头显如许的头戴式装备。 CE装备12可以颠末了口22或颠末接口18的无线链路与头显24的听筒中的麦克风30、头显24中的扬声器32、以及佩带在头显24下方的助听器34通讯。 当由游戏主机实现时,CE装备12可以是盘算机模拟的示例源,并可以在头显24播放来自主机的音频。 为了资助终端用户可以或许访问自己的个性化HRTF文件,文件一旦天生,就可以存储在便携式存储器38和/或云存储器40。 播放装备可以包罗一个或多个附加处理惩罚器,比方具有数模转换器(DAC)44的第二数字信号处理惩罚器(DSP),其将诸如立体声音频或多声道(大于两声道)音频的音频流数字化,将音频与存储器38的HRTF信息卷积或从云存储下载。 图2示出了包罗左耳机扬声器202和右耳机扬声器202的示例性头显200。在一个实行例中,头显200可以包罗一个大概更多个无线收发器206。助听器212可以独立地或与头显200一起佩带。头显200可以包罗一个或多个位置或位置传感器214,比方环球定位卫星(GPS)吸收器,以及一个或更多个姿态传感器216,比方加速计、磁力计和陀螺仪的组合,以感测头显在空间中的位置和方位。 图3示出了示例性非限定性助听器300。助听器300包罗外壳302,外壳302的远端304(如306所示。远端304可以是比方耳罩或模具。与远端304相对的是如308所示的近端。近端304可视为输入端,由于声音从远端发出,以是可以视为输出端。 因此,至少一个扬声器310位于外壳302中的远端304处,以通过远端304提供由至少一个处理惩罚器314控制的至少一个放大器312放大的声音。与浩繁助听器一样,助听器300可以包罗一个或多个线圈316。 助听器300同时可以包罗一个或多个可利用的控件,比方按钮32,以及一个或多个无线收发器322。在一个示例中,无线收发器322包罗蓝牙收发器。为了吸收用于处理惩罚的输入声音,一个或多个麦克风324可以位于外壳302中。 图4示出了为佩带助听器300的用户天生个性化HRTF的示例体系。所述体系可以包罗助听器300、图1中的头显24、图1的声源12、以及可以颠末收发器322从助听器300吸收无线信号的主机400。 图5示出了可以呈如今表现器500的示例UI。UI还可以包罗两个选择器504、506,第一个选择器用于指示用户在佩带助听器300的同时佩带头显,第二个选择器用于指示用户筹划在没有助听器的情况下利用头显收听音频。 图6示出了示例逻辑。从框600开始,在助听器300和主机400之间创建诸如蓝牙通讯信道的毗连。框602,头显24中的头部追踪体系初始化。 框604,诸如HRTF测试声音的声音模式由源12发射,并颠末有线或有线通讯路径提供给主机。框606指示用户根据图5中的提示502在空间中移动,这可以包罗行走、转头、坐下和站起等。 当用户移动时,利用头显24的定向和位置传感器来追踪头部,而头显24通过无线路径向主机400发送头部追踪信号。在框608,助听器300捕捉音频,而且音频检测的指示颠末诸如蓝牙传输发送到主机。 由声源12发出的测试声音和由助听器300发送到主盘算机400的音频检测信号都偶然间戳,重新显24发送到主机400的头部追踪信号同样云云。 换句话说,音频传输和检测以及头部追踪已知,而且包罗用于在消声室中天生HRTF的类似或等效的参数。对于发出的每个测试音,发射(声源12)的时间和位置已知,检测的时间和所在也已知,用户的头部方向和相对于声源12的位置同样已知。框610相应地指示,利用所述信息,包罗相对于声源的头部追踪以及测试音频音调的发射和检测时间,为用户天生个性化HRTF。 当用户指示佩带助听器时,来自助听器的无线信号可以表现麦克风输出端(助听器的输入端)的信号。这产生了HRTF,并用于在佩带助听器时处理惩罚头显24播放的音频。 另一方面,当用户指示不佩带助听器时,来自助听器的无线信号可以表现助听器的扬声器的输入端(助听器的输出端)处的信号。当用户未佩带助听器时,这会产生用于在头显播放音频的HRTF。 助听器可以发送两个信号(输入和输出处的检测信号),而且主机可以根据用户选择来选择信号。 在替换实行例中,可以移动声源以天生HRTF。如图7所示,UI可以呈如今表现器700,以在702提示用户佩带头显24并坐在房间中。可以指派一名助手移动扬声器,并提供与图5中的选择器504、506等效的选择704、706。 图8示出了可以任何表现器800提供的UI,以在802提示助手在用户附近走动。当预备停其时,助手可以选择开始804以初始化图9的逻辑。 从框900开始,在相干装备之间创建无线毗连。在框902,实行头部追踪。框904和906指示声源在其移动时发出测试音,并由助听器300捕捉。这捕捉从声源到头部的相对变更以及进入或离开助听器的信号,并在框910天生个性化HRTF。 相干专利: Sony Patent | Using bluetooth / wireless hearing aids for personalized hrtf creation https://patent.nweon.com/26954 名为“Using bluetooth / wireless hearing aids for personalized hrtf creation”的索尼专利申请最初在2021年8月提交,并在日前由美国专利商标局公布。 |

专注IT众包服务
平台只专注IT众包,服务数 十万用户,快速解决需求

资金安全
交易资金托管平台,保障资 金安全,确认完成再付款

实力商家
优秀软件人才汇集,实力服务商入驻,高效解决需求

全程监管
交易过程中产生纠纷,官方100%介入受理,交易无忧

微信访问
手机APP
关于我们|广告合作|联系我们|隐私条款|免责声明| 时代威客网
( 闽ICP备20007337号 ) |网站地图
Copyright 2019-2024 www.eravik.com 版权所有 All rights reserved.


