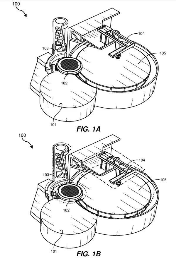
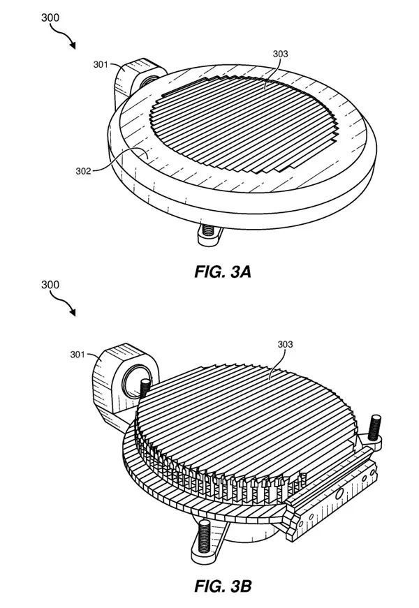
检察引用/信息源请点击:映维网Nweon 自动化、高容量的抛光办理方案 (映维网Nweon2023年02月21日)晶圆管芯的一个或多个边沿可以抛光以用于光子学电路、激光器或波导。生产相干抛光模具的传统方法包罗手动抛光每个样品至精确的层和厚度。然而,这种手动抛光耗时且依赖于利用员。每个利用员可以以差别的方式抛光模具,并抛光到差别的深度。这反过来又导致抛光剂在差别模具之间的不匀称分布。 Meta指出,行业已经实验自动化这种晶圆抛光过程。然而,当前的自动化体系不答应大规模的自动化晶圆级抛光。比方,传统的自动晶圆抛光体系计划为单独拾取每个晶圆,然后一次抛光一个。只管这个过程是自动化的,但依然耗时且服从低下。 以是在名为“Complex photonics circuit fabrication”的专利申请中,这家公司提出了一种自动化、高容量的抛光办理方案,并用于生产具有抛光或镜面抛光边沿的半导体管芯。 Meta宣称,与传统方法相比,采取发明形貌的方法可以实现改进的光学性能,由于每个边沿可以抛光到雷同的深度和雷同的角度,而且可以镌汰手动过程中产生的伪影数量,可以镌汰每个硅片的生产时间。 专利形貌的实行例可以包罗设置为保持完备晶圆(未切割)的晶圆卡盘。体系同时可以包罗将晶圆切片成列的切片组件,以及同时将全部单个列旋转90度的旋转体系。别的,体系可以包罗抛光旋转晶圆柱的袒露边沿的抛光组件。在抛光之后,它可以将柱旋转回到其原始的平展位置,而且可以在横向方向切割柱以形成各自具有至少一个抛光边沿的单个模具。 体系可以设置为切片根本上任何尺寸的半导体或任何范例的晶圆,而且可以设置成同时匀称地抛光大量裸片,比方数十、数百或数千(取决于芯片尺寸和晶圆尺寸)。 在一个实行例中,切片组件和抛光组件可以组合成雷同的体系或装备。因此,切割的半导体柱不须要大间隔地转移到抛光组件,从而镌汰传输时间并进步制造服从。这同时可以镌汰装备的工业占地面积,由于卡盘、切片元件和抛光元件都是同一装备的构成。 图1A的组合半导体晶圆切割和抛光体系100包罗差别的组件,它们可以一起工作以靠近半导体晶圆、将晶圆切成片、抛光晶圆片,然后进一步将抛光的晶圆片切割成裸片。此中,每个裸片具有至少一个抛光侧。 在晶圆切割和抛光体系100中,可以实现装载和卸载站101以将半导体晶圆存储和/或装载到卡盘102。卡盘102可以设置为在半导体晶圆切割成列或条时保持半导体晶圆。由电子控制器控制的移动臂103可以将由卡盘102保持的半导体晶圆移动到切割站或切割组件104。切割组件104可以设置为将半导体晶圆切割成多个片。 在晶圆被切割成列或条之后,其可以旋转到垂直位置,大概可以将条旋转到相对于程度卡盘102的某个其他指定角度。然后卡盘本身可以绕其程度轴旋转,使得(现在切割并旋转的)半导体晶圆片移动到垂直于抛光组件105的外貌的位置。抛光组件105然后可以开始旋转(或继续旋转)其抛光外貌。移动臂103可使卡盘102朝向抛光组件105移动,以抛光半导体晶圆带的袒露边沿。抛光可以继续举行,直到到达渴望的感爱好地区或抛光深度。 在一个实行例中,移动臂103然后可以围绕其程度轴旋转卡盘,使得半导体晶圆面向切割组件104。移动臂103可以再次顺时针(或逆时针)旋转卡盘102,使得晶圆片相对于切割刀片旋转90度。然后,切割组件104的切割刀片可以将晶圆片切割成小方模具。 图1B包罗叠加的虚线,以体现组合的半导体晶圆切割和抛光体系100的每个组件的总体尺寸和定位。Meta体现,所述组件可以以浩繁差别的尺寸和形状制造,而且可以计划为协同工作,从而批量生产抛光的硅片。 图2A-2C示出了组合的半导体晶圆切割和抛光体系在差别位置之间转换。比方,组合的半导体晶圆切割和抛光体系可以处于图2A中的装载位置、图2B中的切片/切割位置以及图2C中的抛光位置。 比方,卡盘202(其可以与图1A的卡盘102雷同或差别)可以在装载/卸载站201旁边的位置开始,此中硅晶圆(未示出)可以装载到卡盘102。组合的半导体晶圆切割和抛光体系的移动臂203然后可以将卡盘202移动到图2B中的切片位置。在切片位置,卡盘202可将半导体晶圆固定在恰当位置,使恰当切割装置204的切割刀片将晶圆切割成片时,切割的片或柱各自由卡盘202支持。 然后,移动臂203可以旋转卡盘202,使其面朝下朝向抛光站205,而且可以将每个晶圆片旋转到与卡盘正交的90度位置。移动臂203同时可以朝着抛光站205的外貌低沉卡盘202。当移动臂203将卡盘202低沉到抛光站205的抛光外貌上时,抛光站205可以开始旋转大概可以继续旋转。 这种低沉大概导致切割的晶圆片的袒露边沿打仗抛光外貌,从而可以抛光晶圆片的袒露边沿。在一个实行例中,移动臂203然后可以将卡盘移回切割位置,以进一步将(抛光的)半导体晶圆片切割成芯片或管芯。假如须要,可以通过再次旋转并低沉卡盘到晶圆晶圆打仗抛光站205的外貌位置来进一步抛光晶圆。 图3A示出了具有多个组件的卡盘300。比方,卡盘300可以包罗外壳302、旋转构件301和多个可旋转的晶圆板条303。每个可旋转的晶圆板条303可以设置为支持半导体晶圆的至少一部门。卡盘300可包罗用于由切割装置产生的每个晶圆片或晶圆列的一个可旋转的晶圆板条。在其他情况,一个可旋转的晶圆板条可以支持两个、三个或更多个半导体晶圆片。 图3B示出了没有外壳302的卡盘300。可旋转晶圆板条303可以相对于壳体轻微凹陷。凹陷间隙可答应外壳302用作将硅晶圆保持在恰当位置的支持布局。卡盘300可以在半导体晶圆的初始放置期间提供平滑的外貌,全部可旋转的晶圆板条对齐以形成平展外貌,而且可以在抛光安装到可旋转晶圆板条303的各个晶圆片的袒露边沿时提供90度的倾斜位置(或其他指定角度)。 图4A-4C示出了可旋转晶圆板带401从初始平展位置旋转到90度旋转位置的过程。在图4A和4B之间,可旋转的晶圆板片已经旋转了约莫45度,图4C则完全90度旋转。 图6A-6C示出了与图4A-4E所示的卡盘雷同(或雷同)的卡盘600,并添加了硅晶圆。如图6A所示,可旋转晶圆板带601可以在平展位置开始,而且可以在粘附到可旋转晶圆板带601的差别角度时旋转,如图6B和6C所示。 因此,当可旋转的晶圆板带601倾斜时,切割的晶圆片605以相应的方式倾斜。当每个晶圆片相对于卡盘600绕横向或程度轴线旋转时,每个晶圆带的袒露边沿现在至少部门地面向抛光组件。图6D和6E示出了如由马达单位604控制的那样,拦截组件602怎样在支持布局603上升起。拦截组件602留下间隙以容纳晶圆片605。 然后一旦移动到位,拦截组件602支持晶圆片605并将晶圆片保持在恰当位置,从而提供要抛光的安全位置。接下来,卡盘600可以在其移动臂上旋转180度以面对抛光组件,而且可以低沉到待抛光组件的外貌上。 在一个实行例中,抛光的晶圆片可以再次切割成芯片或管芯。如图7A所示,切割组件700A可以利用切割刀片705实验初始纵向切割。卡盘的移动臂701可以将卡盘702移动到切割组件700A下方的恰当位置,而且切割组件的移动臂704可以将刀片移动到恰当位置以举行纵向切割。 当晶圆板带旋转时,晶圆片可以保持在可旋转晶圆板带703上,而且边沿被抛光。在抛光之后,卡盘的移动臂701可以再次将卡盘702移动到切割刀片705下方的切割位置。 如图7B所示,切割组件700B可将切割刀片705连同其凸缘706和其他组件引导到晶圆片上,以将其切成正方形。然后,卡盘本身可以旋转以面朝下朝向抛光站,在那里可以在第二侧抛光模具。所述过程可重复多达四次,以是假如须要,对管芯的全部四个边沿举行抛光,以用于激光、波导和其他应用。 图10是用于切片和抛光半导体晶圆的示例流程图。在步调1010,将半导体晶圆切片成一个或多个晶圆片,此中每个晶圆片由相应的可旋转晶圆板条支持。每个晶圆片可以具有平展的顶外貌和一个或多个侧边沿。 在步调1020,沿着程度轴旋转可旋转晶圆板条的晶圆片,以袒露晶圆片的至少一个边沿以举行抛光。然后在步调1030,在晶圆片处于旋转的抛光位置时抛光晶圆片边沿的至少一部门。可选地,抛光的晶圆片然后可以移回到切割位置,而在所述切割位置,抛光的晶圆片切割成裸片。 Meta体现,专利形貌了用于切片和抛光半导体晶圆的高通量、紧凑且本钱高效体系。所述体系可以比传统的手动方法更快的速率输出抛光的晶圆。 相干专利: Meta Patent | Complex photonics circuit fabrication 名为“Complex photonics circuit fabrication”的Meta专利申请最初在2021年8月提交,并在日前由美国专利商标局公布。 |

专注IT众包服务
平台只专注IT众包,服务数 十万用户,快速解决需求

资金安全
交易资金托管平台,保障资 金安全,确认完成再付款

实力商家
优秀软件人才汇集,实力服务商入驻,高效解决需求

全程监管
交易过程中产生纠纷,官方100%介入受理,交易无忧

微信访问
手机APP
关于我们|广告合作|联系我们|隐私条款|免责声明| 时代威客网
( 闽ICP备20007337号 ) |网站地图
Copyright 2019-2024 www.eravik.com 版权所有 All rights reserved.


