文章相干引用及参考:映维网Nweon 一共更新了25篇专利。 (映维网Nweon2023年02月24日)近期美国专利及商标局公布了一批全新的AR/VR专利,以下是映维网的整理(详情请点击专利标题),一共25篇。更多专利披露请访问映维网专利板块https://patent.nweon.com/举行检索,你同时可以参加映维网AR/VR专利互换微信群(详见文末)。 1. 《Meta Patent | Artificial eye system(Meta专利:人造眼体系)》 在一个实验例中,专利形貌了一种可以作为人造眼体系的透镜组件,并用于在操纵或测试头戴式表现器时模仿人眼。所述透镜组件包罗光学元件,光学元件具有具有角膜外形外貌的朝外外貌。透镜组件包罗承载光学元件的壳体。壳体至少部分地容纳图像传感器。图像传感器定位成从光学元件吸收图像光。 2. 《Meta Patent | Methods and systems to allow three-dimensional map sharing between heterogeneous computing systems, cross-localization, and sharing content in three-dimensional space(Meta专利:答应异构盘算体系之间共享三维舆图、交织定位和共享三维空间内容的方法和体系)》 在一个实验例中,专利形貌了包罗与第一人造现实装备相干联的盘算体系。盘算体系访问真实环境的传感器数据,为真实环境天生第一多个特性形貌符,并基于第一多个特性形貌符天生真实环境的第二多个特性形貌符。此中,所述第二多个特性形貌符具有比所述第一多个特性形貌符更低的细节。盘算体系同时可以使得使用无线毗连来发送第一多个特性形貌符。此中,所发送的第一多个特性形貌符设置为转换成与第二多个特性形貌符差别的第三多个特性形貌符。第三多个特性形貌符设置为由第二人造现实装备用于追踪真实环境。盘算体系使用第二多个特性形貌符来追踪真实环境。 3. 《Meta Patent | Differential illumination for corneal glint detection(Meta专利:用于角膜闪灼检测的差分照明)》 在一个实验例中,专利形貌了一种用于检测闪灼的装备。所述装备包罗一对光源,所述光源定位在头戴式框架上并以用差分光信号照射眼睛的角膜外貌。图像传感器位于头戴式框架之上,以吸收来自角膜外貌的差分光信号的反射。眼睛的角膜(比方角膜球)的取向可以至少部分地基于差分光信号的反射来确定。 4. 《Meta Patent | Eyeglass devices and related methods(Meta专利:眼镜装备和相干方法)》 在一个实验例中,专利形貌的眼镜装备可以包罗外形和尺寸适于用户至少部分地佩带在用户眼睛前面的框架、安装在框架的变焦光学元件、以及安装在框架的眼动追踪元件。变焦光学元件可以包罗根本透明的致动器,致动器至少部分地定位在变焦光学元件的光学孔径内。眼动追踪元件可以设置为追踪用户眼睛的凝视方向,而且变焦距光学元件可以设置为基于来自眼动追踪元件的信息改变包罗焦距的至少一个光学特性。 5. 《Meta Patent | Surface relief grating and method of making the same(Meta专利:外貌浮雕光栅及其制造方法)》 在一个实验例中,专利形貌了外貌浮雕光栅及其制造方法。所述方法包罗在含有图案的衬底中沉积多个层。多个层可以形成包罗至少两种差别质料的堆叠。因此,叠层形成具有独特的有用折射率的复合层。所述方法可以使用至少两种差别的质料,可以是氧化铝(A12O3)、二氧化钛(TiO2)和二氧化硅(SiO2)的组合。质料可以通过原子层沉积(ALD)来沉积。 6. 《Meta Patent | Time slot reservation for soft access point(Meta:soft access point的时隙预留)》 在一个实验例中,专利形貌的技能涉及与接入点通讯的第一装备和第二装备。在一个方面,第一装备在第一时间隔断期间通过第一无线通讯与接入点通讯。第一装备在第二时间隔断期间防止与接入点的通讯。第一装备作为soft access point在第二时间隔断内的第三时间隔断期间通过第二无线通讯与第二装备通讯,第三时间段短于第二时间段。 7. 《Meta Patent | Antenna isolation using parasitic element in wireless devices(Meta专利:无线装备中使用寄生元件的天线隔离)》 在一个实验例中,专利形貌的无线装备包罗设置为实行无线通讯的第一天线、设置为举行无线通讯的第二天线和寄生天线。第一天线可以具有毗连到第一阻抗调谐器的馈线,第一阻抗调谐器毗连到第一接地平面。第二天线可以具有毗连到第二阻抗调谐器的馈线。寄生天线可以设置在第一和第二天线之间,馈线毗连到毗连到第二接地平面的第三阻抗调谐器。第一阻抗调谐器、第二阻抗调谐器和第三阻抗调谐器可以调解以设置第一天线、第二天线和寄生天线以实现雷同的谐振频率。 8. 《Meta Patent | Platformization of mixed reality objects in virtual reality environments(Meta专利:混淆现实对象在捏造现实环境中的平台化)》 在一个实验例中,专利形貌的方法包罗吸收转换到第一VR应用的第一捏造现实环境的指令;访问靠近VR表现装备的真实天下环境中的一个或多个真实天下对象的属性信息;而且针对VR表现装备的一个或更多个表现器,使用与一个或更多个真实天下对象相对应的一个大概更多个MR对象来渲染第一VR环境,此中每个MR对象包罗实用于对应的真实天下对象的第一MR功能之一。 9. 《Meta Patent | Binary-encoded illumination for corneal glint detection(Meta专利:用于角膜闪灼检测的二进制编码照明)》 在一个实验例中,专利形貌了一种用于检测闪灼的装备。所述装备包罗一对光源,光源位于头戴式框架上,而且使用二进制编码的差分光信号照射眼睛的角膜外貌。图像传感器位于头戴式框架上,以吸收来自角膜外貌的差分光信号的反射。眼睛的角膜(比方角膜球)的取向可以至少部分地基于二进制编码的差分光信号的反射来确定。 10. 《Meta Patent | System on a chip (soc) communications to prevent direct memory access (dma) attacks(Meta专利防止直接内存访问攻击的片上体系通讯)》 在一个实验例中,专利形貌的片上体系SoC包罗加密引擎和安全处理处罚器。加密引擎设置为使用加密密钥加密原始输入数据以形成加密的有用载荷。所述安全处理处罚器设置为基于形貌所述加密有用载荷的元组的信道ID,从生存多个加密密钥的密钥存储中选择所述加密密钥,以形成包罗所述信道ID的加密报头,以将所述加密的有用载荷与包罗所述通道ID的所述加密报头封装以形成加密分组,而且将加密分组发送到SoC外部的目标地SoC。 11. 《Meta Patent | Systems and methods for performing eye-tracking(Meta专利:用于实行眼动追踪的体系和方法)》 在一个实验例中,专利形貌的盘算机实现的方法可以包罗:以第一频率有条件地操纵眼动追踪体系处理处罚管道的第一阶段,从而检测感爱好地区;操纵眼动追踪体系处理处罚管道的第二阶段,以基于检测到的感爱好地区来猜测凝视方向。 12. 《Samsung Patent | Wearable electronic device having heat dissipation structure(三星专利:具有散热布局的可穿着电子装备)》 在一个实验例中,专利形貌的电子装备可以包罗:至少部分地包罗导热质料的透镜框架;一对可旋转地联接到所述透镜框架的可穿着构件;设置在所述透镜框架中的至少一个透镜;以及设置在透镜上的透明导线。透明导线可以毗连到透镜框架的导热质料,以吸收从透镜框架通报的热量。 13. 《Samsung Patent | Wearable electronic device for displaying augmented reality object and method for operating the same(三星专利:用于表现加强现实对象的可穿着电子装备及其操纵方法)》 在一个实验例中,专利形貌的可穿着电子装备包罗社戏昂头、通讯电路、包罗透明透镜并通过透镜表现内容的表现器、以及处理处罚器。此中,处理处罚器可以设置为当从用于控制表现在外部电子装备上的装备的多个对象中选择第一对象时,基于通过所述摄像头辨认的用户的凝视方向,辨认用于将与所述第一对象相对应的所述第一信息表现为加强现实图像的第一位置,基于用户输入,确定所述加强现实图像中的属性,并控制所述表现器在所述第一位置表现具有所述属性的加强现实图像。 14. 《Magic Leap Patent | Spatially-Resolved Dynamic Dimming For Augmented Reality Device(Magic Leap专利:加强现实装备的空间分辨率动态调光)》 在一个实验例中,光学体系吸收与天下对象相干联的光。虚像光投射到光学体系的目镜之上。根据光学体系检测到的信息,确定光学体系的体系视场中至少要部分变暗的一部分。可以根据检测到的信息来确定用于多个空间分辨率的调光值。检测到的信息可以包罗光信息,凝视信息和/或图像信息。可以调治光学体系的调光器,根据多个调光值来减小与天下对象相干的光的强度。 15. 《Magic Leap Patent | Selecting Virtual Objects In A Three-Dimensional Space(Magic Leap专利:在三维空间中选择捏造对象)》 在一个实验例中,专利形貌了使用可穿着体系在三维空间中与捏造对象举行交互的体系和方法。可穿着体系可以设置为答应用户使用用户输入装备和姿势来与捏造对象举行交互。可穿着体系同时可以主动确定情形信息,如用户环境中的捏造对象的布局,并根据情形信息切换用户输入模式。 16. 《Magic Leap Patent | Virtual and augmented reality systems and methods having improved diffractive grating structures(Magic Leap专利:具有改进衍射光栅布局的捏造现实和加强现实体系和方法)》 在一个实验例中,专利形貌了一种用于3D表现体系的改进衍射布局。改进的衍射布局包罗位于波导衬底和顶光栅外貌之间的中心层。顶光栅外貌包罗对应于第一折射率值的第一质料,底层包罗对应于第二折射率值的第二质料,而且衬底包罗对应于第三折射率值的第三质料。 17. 《Qualcomm Patent | Pose-based beam update techniques for wireless communications(高通专利:用于无线通讯的基于姿势的波束更新技能)》 在一个实验例中,专利形貌了用于无线通讯的方法。此中,用户装备(UE)可以设置为监督一组波束,而且可以基于UE的位置、UE的方位、位置或方位的厘革率或其任何组合来哀求对监督设置的更新。在一个实验例中,UE的位置或方位信息可以包罗当前时间段的信息、一个或多个将来时间段的猜测信息、其他信息或其任何组合。UE可以向基站发送波束监督哀求,以得到更新的监督设置,比方一组设置的波束的子集或要由UE监督的辨认的扫描角度。 18. 《Qualcomm Patent | Display of a live scene and auxiliary object(高通专利:实时场景和辅助对象的表现)》 在一个实验例中,专利形貌的移动装备包罗一个或多个处理处罚器、表现器和设置为捕捉现场场景的图像的摄像头。所述一个或多个处理处罚器设置为确定所述移动装备的位置,并基于所捕捉的图像表现加强图像。加强图像包罗现场场景的图像的至少一部分,以及包罗移动装备的所确定位置的指示的舆图。一个或多个处理处罚器同时设置为在表现器的第一部分中表现现场场景图像的至少一部分,并在表现器的第二部分中表现舆图。随着移动装备的移动,更新加强图像,而且随着加强图像的更新,舆图停靠到表现器的第二部分。 19. 《Sony Patent | Curating virtual tours(索尼专利:定制捏造游览)》 在一个实验例中,专利形貌了用于创建三维捏造环境的可定制游览体系和方法。所述方法可以包罗选择捏造环境和选择捏造环境内各种位置的有序聚集。可以启动游览,使得指定的Avatar可以放置到有序聚集的第一选定位置,并吸收关于第一选定位置的信息子集。信息的子集可以包罗关于第一选择位置的用户天生内容。所选择的三维捏造环境可以对应于交互式内容标题的游戏内环境,而且具体地关于一个或多个其他用户在第一选择位置加入的一个或更多个游戏内运动。 20. 《Sony Patent | System, game console and method for adjusting a virtual environment(索尼专利:用于调解捏造环境的体系、游戏主机和方法)》 在一个实验例中,专利形貌了一种用于非侵入性地调解捏造环境的方法。所述方法包罗感测感知捏造环境的用户的身材运动,并基于感测到的身材运动确定用户的感情状态。然后,使用用户的感情状态作为非侵入性输入来调解捏造环境,以增长和/或不粉碎用户对捏造环境的沉醉式体验。 21. 《Sony Patent | Image processing device, method of generating 3d model, learning method, and program(索尼专利:图像处理处罚装备、天生三维模子的方法、学习方法和步调)》 在一个实验例中,专利形貌的视频天生/表现装备的成像单元通过在每次照明装备状态改变时对被摄体成像而得到图像。照明控制信息输入单元在成像单元每次拍摄图像时获取照明装备的状态。然后,远景裁剪处理处罚单元基于由照明控制信息输入单元获取的照明装备在每个时间的状态,从由成像单元拍摄的图像中裁剪对象。建模处理处罚单元天生由远景裁剪处理处罚单元裁剪的对象的3D模子。 22. 《Intel Patent | Enhancing 360-degree video using convolutional neural network (cnn)-based filter(英特尔专利:使用基于卷积神经网络的滤波器加强360度视频)》 用于加强视频的示例装备包罗解码器,其用于对吸收到的360度投影格式视频比特流举行解码。所述装备同时包罗视口天生器,其用于从解码的360度投影格式视频天生视口。所述装备同时包罗基于卷积神经网络(CNN)的滤波器,以从视口中去除伪影,从而天生加强图像。所述装备同时包罗表现器。 23. 《Apple Patent | In-tree geometry quantization of point clouds(苹果专利:点云的树内多少量化)》 在一个实验例中,专利形貌的示例性装备包罗一个或多个处理处罚器和存储指令的存储器。处理处罚器吸收表现三维空间中的点云的点,并天生表现点云的数据布局。天生数据布局包罗根据树数据布局将每个维度中每个点的位置编码为比特序列;根据缩放深度将每个序列分别为两个或更多部分;确定所述点的子集在空间上与剩余的点隔离;根据第一量化步长对与所述点子集相干联的所述部分中的每一个举行量化;根据第二量化步长对与所述点的剩余部分相干联的所述部分中的每一个举行量化;而且在数据布局中包罗量化部分。 24. 《Apple Patent | Discovery of and connection to remote devices(苹果专利:远程装备的发现和毗连)》 在一个实验例中,专利形貌了一种用于远程装备的发现和毗连的方法。所述方法包罗由主机装备基于吸收到的信号来辨认远程装备。此中,吸收的信号指示每个远程装备相对于主机装备的位置以及每个远程装备的装备范例。所述方法同时包罗辨认位置的图像中的可见装备,并将来自可见装备的第一可见装备与来自远程装备的第一远程装备举行匹配。基于第一可见装备在图像的搜刮地区内的存在,将第一可见装备与第一远程装备相匹配,基于第一远程装备的位置确定图像的搜刮区,而且基于由第一可见装备输出的呆板可辨认指示符,将第一可见装备与第一远程装备相匹配。 25. 《Snap Patent | Carry case for rechargeable eyewear devices(Snap专利:可充电眼镜装备的便携盒)》 在一个实验例中,用于眼镜装备(比方智能眼镜)的便携盒具有充电触点,充电触点可相对于容纳眼镜装备的存储室移动。充电打仗件通过充电打仗件与眼镜装备外部的对应打仗布局的打仗耦合而毗连到由壳体承载的电池,以用于对眼镜装置充电。 |

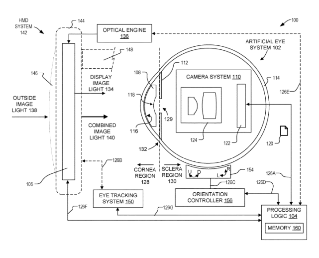
专注IT众包服务
平台只专注IT众包,服务数 十万用户,快速解决需求

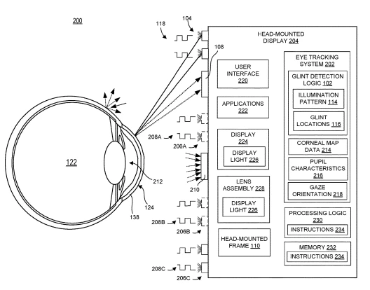
资金安全
交易资金托管平台,保障资 金安全,确认完成再付款

实力商家
优秀软件人才汇集,实力服务商入驻,高效解决需求

全程监管
交易过程中产生纠纷,官方100%介入受理,交易无忧

微信访问
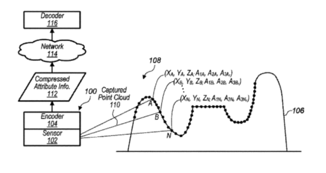
手机APP