文章相干引用及参考:映维网Nweon 一共更新了44篇专利。 (映维网Nweon2023年03月10日)近期美国专利及商标局公布了一批全新的AR/VR专利,以下是映维网的整理(详情请点击专利标题),一共44篇。更多专利披露请访问映维网专利板块https://patent.nweon.com/举行检索,你同时可以参加映维网AR/VR专利交换微信群(详见文末)。 1. 《Meta Patent | Artificial reality content management(Meta专利:人造实际内容管理)》 在一个实验例中,专利形貌的技能可以根据用户选择来创建假造对象,并提供与用户活动的当前景象相对应的一个或多个产物保举。在一个实验例中,专利形貌的技能使用对象辨认来天生和导出NFT,而且可以用对应于NFT钱包的NFT内容来增强数字情况。 2. 《Meta Patent | Holographic In-Field Illuminator(Meta专利:全息场内照明器)》 专利形貌的眼动追踪体系包罗全息照明器和检测器。全息照明器包罗设置成提供光的光源,以及与光源光学耦合的全息介质。全息介质设置成吸收从光源提供的光,并同时向眼睛投射多个独立的光图案。检测器设置成检测从眼睛反射的多个独立光图案的至少一个子集的反射,从而确定眼睛瞳孔的位置。 3. 《Meta Patent | Efficient motion-compensated spatiotemporal sampling(Meta专利:高效活动赔偿时空采样)》 在一个实验例中,盘算体系可以访问包罗第一帧和第二帧的视频。盘算体系可以通过根据第一帧和第二帧之间的光流将第一采样位置变更为第二帧来确定第一帧的第一采样位置和第二帧的第二采样位置。盘算体系可以基于与第一采样位置对应的第一帧中的像素与和与第二采样位置对应的第二帧中的像素之间的比力,以选择第二采样位置的子集。盘算体系可以基于第二采样位置的子集在第二帧中界说一个或多个拒绝地区,以确定拒绝地区之外地区中的第三采样位置。盘算体系可以天生视频的样本。 4. 《Meta Patent | Gas-soluble nanovoided polymers(Meta专利:气溶性纳米安定聚合物)》 在一个实验例中,专利形貌的致动器包罗主电极、与主电极的至少一部分重叠的次电极、设置在主电极和次电极之间并毗邻主电极和次电极的纳米安定聚合物层。纳米安定聚合物具有分散在整个聚合物基质中的多个纳米安定,密封层至少部分封装纳米安定聚合物层,同时纳米安定包罗添补气体。 5. 《Meta Patent | Sram design for energy efficient sequential access(Meta专利:用于节能次序访问的SRAM计划)》 在一个实验例中,专利形貌的SRAM控制器使用在不偕行上同时操纵的内部端口实验次序访问。每个内部端口包罗行地点选通(RAS)定时器,定时器产生控制RAS阶段期间操纵定时的时钟信号。RAS阶段可以涉及额外的调治操纵。RAS阶段之后是输入/输出(IO)阶段,此中使用由IO计时器天生的列选择信号以次序地点访问各个位单位。第一内部端口的RAS相位可以至少部分地与第二内部端口的IO相位重叠,以隐蔽第一内部端口中的RAS耽误。IO定时器可以在内部端口之间共享。 6. 《Meta Patent | Systems and methods for creating soft deformable high-density haptic bubble displays(Meta专利:用于创建柔性可变形高密度触觉气泡表现器的体系和方法)》 在一个实验例中,人造实际体系可以包罗触觉反馈体系,所述触觉反馈体系包罗实现为气泡阵列的柔性可变形高密度致动器组。气泡阵列可以是气动气泡阵列。可以使用具有最佳刚度的柔性可拉伸质料来形成、创建或产生柔性可变形高密度致动器组。致动器组中的每个致动器可以单独地致动,以在人体的一部分出现局部触觉压力。 7. 《Meta Patent | High-throughput testing and module integration of rotationally variant optical lens systems(Meta专利:旋转可变光学透镜体系的高通量测试和模块集成)》 在一个实验例中,专利形貌了一种用于旋转可变光学透镜体系的高通量测试和模块集成体系。所述体系可以是包罗光源以产生光学照明的计量体系。计量体系可以包罗null元件。null元件可以使用来自光源的光学照明产生与被测单位(UUT)相对应的规定波前。别的,计量体系可以包罗null元件夹具,以相对于被测单位(UUT)定位null元件。 8. 《Meta Patent | Systems and methods of narrowband discovery for wireless devices(Meta专利:无线装备窄带发现的体系和方法)》 在一个实验例中,专利形貌的方法包罗第一超宽带(UWB)装备。从多个界说的窄带信道中的第一窄带信道转换到第二窄带信道,以广播发现信标,从而供一个或多个UWB装备吸收。第一UWB装备可以在第二窄带信道中吸收对要在第一UWB装备和第二UWB装备之间实验的至少一个服务的哀求。第一UWB装备可以相应于哀求向第二UWB装备发送相应帧。 9. 《Meta Patent | Artificial reality device capture control and sharing(Meta专利:人造实际装备捕捉控制和共享)》 在一个实验例中,人造实际捕捉和共享体系可以提供输出视图,输出视图表现来自人造实际装备的天下视图或用户的视点视图。天下视图可以表现由人造实际捕捉和共享体系捕捉的整个附近地区。人造实际捕捉和共享体系可以对其捕捉的传感器数据中描画的人应用过滤器。这可以包罗将过滤器应用于装备或共享输出视图中的已辨认用户,大概应用于人造实际装备附近地区中的人的及时视图。 10. 《Meta Patent | Wearable electronic devices and extended reality systems including neuromuscular sensors(Meta专利:包罗神经肌肉传感器的可穿着电子装备和扩展实际体系)》 在一个实验例中,专利形貌的体系可以包罗神经肌肉传感器。由一个或多个可穿着传感器感测和记载的神经肌肉信号可用于确定用户与物理对象的交互或盼望交互的信息。感测信号可直接用作AR体系的输入,和/或感测信号可以用于确定用户身材一部分的活动、力和/或位置。由摆设在可穿着装备上的神经肌肉传感器得到的神经肌肉信号可用于确定施加到物理对象的力。 11. 《Meta Patent | Eye data and operation of head mounted device(Meta专利:眼睛数据和头戴式装备的操纵)》 在一个实验例中,专利形貌的方法包罗,使用头戴式表现器的一个或多个传感器捕捉眼睛数据。一个或多个传感器设置为感测视窗地区。然后,相应于眼睛数据,体系调解头戴式表现器的操纵。 12. 《Meta Patent | Parallel video call and artificial reality spaces(Meta专利:并行视频通话和人造实际空间)》 在一个实验例中,专利形貌的VC/XR毗连体系可以创建和管理用于视频呼唤的XR空间。VC/XR毗连体系可以辨认日历视频呼唤事故,创建相应的XR空间,并在视频呼唤和XR空间之间创建链接。通过人造实际装备举行视频通话的受邀者可以自动进入XR空间。 13. 《Magic Leap Patent | Medical assistant(Magic Leap专利:医疗助手)》 在一个实验例中,专利形貌的可穿着装备可以为医疗保健情况中的佩戴者出现假造内容。佩戴者可以是患者或医疗保健提供者(HCP)。相干应用步调可包罗但不限于访问、表现和修改患者病历,以及在授权HCP之间共享患者病历。 14. 《Magic Leap Patent | Avatar facial expression representation in multidimensional space(Magic Leap专利:多维空间中的假造化身面部心情表现)》 在一个实验例中,专利形貌的体系和方法可用于对多维混淆空间中的面部心情举举措画处置惩罚。作为另一个示例,所述体系和方法形貌了一种过渡体系,其可用于在假造化身的面部动态过渡面部心情。作为另一个例子,可以将传神的物理动作添加到假造脚色的面部心情中。 15. 《Microsoft Patent | Control of variable-focus lenses in a mixed-reality device for presbyopes(微软专利:针对老花眼用户的可变焦距透镜控制)》 在一个实验例中,可变核心透镜摆设为透镜对。眼侧可变核心透镜设置为透视光学组合器的视窗的负透镜,以使假造天下对象可以或许被设置在近间隔处。使用设置为正透镜的真实天下侧可变核心透镜通过其共轭物赔偿负透镜,以提供未受干扰的透视体验。相应于指示用户正在检察近间隔对象的眼动追踪器,将optical power添加到真实天下侧透镜,以快要间隔的真实天下对象光学地推远,并资助老花眼用户对焦。 16. 《Microsoft Patent | Ambient light based mixed reality object rendering(微软专利:基于情况光的混淆实际对象渲染)》 在一个实验例中,在渲染对象的同时,可穿着盘算装备获取真实天下的光照条件,从而增长渲染对象的真实性。具体地,可穿着盘算装备设置成获取可穿着盘算装备所在情况的图像。根据拍摄图像时使用的摄像头参数调解图像。随后,基于调解后的图像确定情况光信息。如许,可穿着盘算装备可以得到更真实、更精确的情况光信息,从而向用户出现具有增强真实性的对象。 17. 《Microsoft Patent | Thickness-modulated conformal coatings on optical components(微软专利:光学元件上的厚度调制共形涂层)》 在一个实验例中,近眼光学表现体系包罗透明波导,衍射光学元件(DOE)设置在所述透明波导上。光学表现体系包罗保形涂层,所述保形涂层在表现器的差别地区举行厚度调制。 18. 《Microsoft Patent | Adaptive panoramic video streaming using composite pictures(微软专利:使用合成图片的自顺应全景视频流式传输))》 在一个实验例中,专利形貌了使用合成图片的自顺应全景视频流式传输方法。 比方,流式传输设置工具将全景视频的输入图片分为多个部分,并创建多个合成图片。合成图片包罗输入图片的多个部分,以及输入图片的低分辨率版本。播放工具可重修一个或多个合成图片。在正常操纵下,播放工具可以使用合成图片的重修部分来渲染全景视频的高质量视图。但如果视图窗口发生巨大变革,大概某个部分的编码数据丢失或破坏,则播放工具可以使用低分辨率版原来渲染较低质量的全景视频视图细节,从而不会克制播放。 19. 《Microsoft Patent | Displaying holograms via hand location(微软专利:通过手部位置表现全息图)》 在一个实验例中,盘算装备致使表现体系表现与全息体三维相干联的全息对象。从传感器接罢手的至少一部分的位置数据。手的位置数据用于定位全息体三维内的切片平面或切片体积。基于切片平面或切片体积的位置,通过表现体系表现被遮挡的全息对象的至少一部分。 20. 《Microsoft Patent | Low motion to photon latency rapid target acquisition(微软专利:低活动到光子耽误快速目的捕捉)》 在一个实验例中,体系摄像头和外部摄像头天生图像。图像相互重叠并对齐以形成重叠图像。得到与体系摄像头和外部摄像头两者相干联的IMU数据。基于IMU数据,确定自最初天生图像以来体系摄像头和/或外部摄像头已经移动的移动量。基于移动,将边界元素移动到叠加图像中的新位置。 21. 《Samsung Patent | Electronic device for controlling at least one external device and operating method thereof(三星专利:用于控制至少一个外部装备的电子装备及其操纵方法)》 在一个实验例中,专利形貌的电子装备包罗至少一个通讯模块;以及处置惩罚器。所述处置惩罚器设置为:使用所述至少一个通讯模块与第一外部装备创建第一通讯毗连;通过所述第一通讯毗连从所述第一外部装备吸收第一信号;在通过所述第一通讯毗连从所述第一外部装备吸收到所述第一信号时,以及在通过所述第一通讯毗连从所述第一外部装备吸收到所述第一信号时,使用所述至少一个通讯模块与所述第二外部装备创建第二通讯毗连。 22. 《Samsung Patent | Augmented reality device and method for obtaining depth map by using depth sensor(三星专利:使用深度传感器获取深度映射的增强实际装备和方法)》 在一个实验例中,专利形貌的方法包罗:感测用户佩戴的AR装备的活动;基于感测到的AR装备活动来辨认用户的活动;基于所辨认的活动,确定由深度传感器发射的发射光图案;控制所述深度传感器以确定的光图案发射光;吸收被至少一个物体反射而得到的反射光;以及基于发射光和吸收的反射光得到深度映射。 P>23. 《Samsung Patent | Electronic device including antenna structure(三星专利:包罗天线结构的电子装备)》在一个实验例中,专利形貌的电子装备包罗透镜框架,所述透镜框架设置为容纳表现构件而且包罗第一端和与所述第一端相对的第二端。电子装备进一步包罗天线结构,其包罗设置在第一佩戴构件内的第一天线结构和设置在第二穿着构件内的第二天线结构。电子装备同时包罗第二毗连构件,其至少部分地设置在第二佩戴构件内并电毗连到第二天线结构。电子装备同时包罗阔第三毗连构件,其设置在透镜框架内并与第一毗连构件和第二毗连部件电毗连。电子装备同时包罗通讯模块,其设置在第一佩戴构件内,而且经过毗连构件电毗连到第二天线结构。 24. 《Samsung Patent | Camera module(三星专利:摄像头模块)》 在一个实验例中,专利形貌的摄像头模块包罗外壳、设置为可在外壳的第一方向移动的第一透镜模块、设置成可在第一方向活动的第二透镜模块、设置在第一透镜模块上的第一磁体、以及设置在第二透镜模块上的第二磁体、设置在所述外壳上以面对所述第一磁体的第一侧外貌的第一磁轭构件、以及设置在第二透镜模块上以面对第一磁体的第二侧外貌的第二轭构件。 25. 《Samsung Patent | Reflective structure, reflective structure array comprising same, and floating image display device(三星专利:反射结构,包罗反射结构的反射结构阵列,以及浮动图像表现装备)》 在一个实验例中,专利形貌的反射结构包罗基板,所述基板包罗第一外貌和与所述第一外貌相对的第二外貌;设置在所述基板上的反射柱;以及覆盖基板的第一外貌的第一遮光层,此中第一遮光层包罗与反射柱相邻的开口,并袒露基板第一外貌的一部分。 26. 《Samsung Patent | Electronic device, head-mounted display device, wearable device, and method for operating the same(三星专利:电子装备、头戴式表现装备、可穿着装备及其操纵方法)》 在一个实验例,专利形貌的电子装备包罗:通讯电路和至少一个处置惩罚器。处置惩罚器通过通讯电路从所述头戴式表现装备吸收与至少一个特定身材部位相干联的信息,而且在通过所述通讯电路从所装备吸收到第一信号时,向所述头装式表现装备发送包罗与第一信号相干联的至少一个图形对象的图像。 27. 《Samsung Patent | Electronic device for providing augmented reality service and operating method thereof(三星专利:用于提供增强实际服务的电子装备及其操纵方法)》 在一个实验例中,专利形貌的电子装备可以包罗设置为存储第一手势信息和第二手势信息的存储器、摄像头、表现器和处置惩罚器。处置惩罚器可以设置为基于经过摄像头得到的图像信息来检测手势。当所述手势对应于所述第一手势信息时,经过所述表现器输出与所述手势相干的第一视觉结果,而且当手势对应于第二手势信息时,经过表现器输出与手势相干的引导信息。 28. 《Samsung Patent | Head-mounted display device and operating method of the same(三星专利:头戴式表现装备及其操纵方法)》 在一个实验例中,专利形貌的头戴式表现装备包罗设置为通过追踪用户双眼来得到眼睛信息的眼动追踪传感器、设置为得到关于一个或多个对象的深度信息的深度传感器、以及设置为基于眼睛信息得到关于凝视点的信息的处置惩罚器。处置惩罚器同时基于关于凝视点的信息来确定深度传感器的丈量参数。 29. 《Sony Patent | Information processing apparatus, information processing system, and information processing method(索尼专利:信息处置惩罚装备、信息处置惩罚体系和信息处置惩罚方法)》 在一个实验例中,专利形貌的一种信息处置惩罚装备包罗检测单位。检测单位检测用户用手指指向手势选择的对象作为选择的对象。检测单位基于从第一线段延伸的第一延伸线来检测所选择的对象。 30. 《Sony Patent | Content generation system and method(索尼专利:内容天生体系和方法)》 在一个实验例中,专利形貌的方法可以从内容中剔除多个极点,从而修改或删除由内容表现的情况中的一个或多个对象或其他特性。这代表了一种优化,即内容内极点数量的镌汰意味着要存储的信息量镌汰,因此信息的任何后续使用可以更有效。 31. 《Sony Patent | Control of personal space content presented via head mounted display(索尼专利:控制通过头戴式表现器表现的个人空间内容)》 在一个实验例中,专利形貌的方法包罗识,别用于在由头戴式表现器的一个或多个机制界说的出现空间中出现的内容;确定内容的评分;动态调解内容,基于用户的用户简档、内容的评分以及在内容处检测到的交互来选择性地过滤内容的一部分;调解后的内容被格式化以在头显出现。相应于哀求,格式化的内容自动传输到头显并用于出现。 32. 《Sony Patent | Optical compensation element, method for manufacturing optical compensation element, liquid crystal display device, and electronic apparatus(索尼专利:光学赔偿元件、光学赔偿元件的制造方法、液晶表现装置和电子装备)》 在一个实验例中,专利形貌的液晶表现装备包罗:一对基板;夹在所述一对基板之间的液晶质料层;以及具有光学赔偿膜的光学赔偿元件。所述光学赔偿元件包罗:基底层,所述基底层具有锯齿状截面形状;以及光学赔偿膜,此中在基底层上瓜代形成高折射率膜和低折射率膜。 33. 《Sony Patent | Information processing device and information processing method(索尼专利:信息处置惩罚装备和信息处置惩罚方法)》 在一个实验例中,专利形貌的信息处置惩罚装备包罗:获取指示用户的第一语音的第一语音信息、指示用户在第一语音之后的第二语音的第二语言信息、以及关于用户呼吸的呼吸信息的获取单位;以及实验单位。基于由所述获取单位获取的呼吸信息,实验单位根据所述用户的呼吸状态实验语音交互控制。 34. 《Google Patent | Foveated beamforming for augmented reality devices and wearables(谷歌专利:增强实际装备和可穿着装备的凝视点波束形成)》 在一个实验例中,专利形貌的增强实际装备可以包罗麦克风阵列。麦克风阵列的敏捷度可以通过波束形成定向到目的,波束形成包罗基于目的的位置以特定方式组合阵列的每个麦克风的音频。可以基于用户的凝视来确定目的的位置,并相应地对音频举行波束成形的体系和方法。可以使用这种基于眼动追踪的波束形成来增强来自凝视方向的声音,并克制来自其他方向的声音。 35. 《Google Patent | Systems and methods for generating three-dimensional maps of an indoor space(谷歌专利:天生室内空间三维舆图的体系和方法)》 在一个实验例中,可以基于传感器对差别地区的扫描,为差别地区天生3D舆图。在每次扫描期间,可以使用超宽带通讯(UWB)丈量移动盘算装备相对于固定定位的智能装备的位置。可以基于在扫描期间获取的位置丈量将地区的3D舆图注册到智能装备的固定位置(即锚定位置),从而将3D舆图归并到组合的3D舆图中。组合的3D舆图然后可以用于促进移动盘算装备或其他智能装备的位置特定操纵。 36. 《Snap Patent | Controlling interactive fashion based on facial expressions(Snap专利:基于面部心情控制交互式时尚物品)》 在一个实验例中,专利形貌的方法包罗:吸收包罗穿着时尚物品的职员的图像;天生由所述图像时尚物品的分割;辨认图像用户的面部心情;以及相应于辨认所述面部心情,基于时尚物品的分割,将一个或多个增强实际元素应用于时尚物品。 37. 《Snap Patent | Generating three-dimensional object models from two-dimensional images(Snap专利:从二维图像天生三维对象模子)》 在一个实验例中,专利形貌了从二维图像天生可变形对象的三维模子的方法。所述方法包罗:吸收二维图像作为嵌着迷经网络的输入,此中二维图像包罗对象的图像;使用所述嵌着迷经网络天生二维图像的嵌入表现;将所述嵌入表现输入到学习的解码器模子中;以及使用学习的解码器模子从嵌入表现天生对象的三维模子的参数。 38. 《Snap Patent | Augmented reality experiences of color palettes in a messaging system(Snap专利:调色板的增强实际体验)》 在一个实验例中,吸收包罗物理项目的表现的图像数据;分析图像数据以确定与物理项目相对应的对象;辨认与所确定的对象的一组地区相对应的一组颜色;分析第二图像数据以检测与用户特定身材部分的表现相对应的第二对象;至少部分地基于所辨认的颜色聚集和所检测的第二对象来天生增强实际内容;在客户端装备处表现应用于检测到的第二对象的增强实际内容。 39. 《Snap Patent | Controlling ar games on fashion items(Snap专利:控制时尚物品上的AR游戏)》 在一个实验例中,专利形貌的方法包罗:吸收包罗穿着时尚物品的职员的图像;天生时尚物品的分割;天生一个或多个基于游戏的增强实际元素;以及基于时尚物品的分割,将所述一个或多个基于游戏的增强实际元素应用于职员穿着的时尚物品。 40. 《Snap Patent | Body fitted accessory with physics simulation(Snap专利:带物理模仿的贴身配件)》 在一个实验例中,专利形貌的方法包罗:吸收包罗真实天下对象的视频;天生与所述真实天下对象相干联的3D身材网格;得到与AR元素相干联的外部网格;确定所述外部网格的第一部分与所述3D身材网格的活动信息相干联;确定所述外部网格的第二部分与外力模子的活动信息相干联;基于所述3D身材网格的活动信息和所述外力模子的活动信息,分别使所述外部网格的所述第一部分和所述第二部分变形;以及基于外部网格的变形的第一和第二部分,修改视频以包罗AR元素的表现。 41. 《Snap Patent | Augmented reality content generators including 3d data in a messaging system(Snap专利:包罗消息体系中的3D数据的增强实际内容天生器)》 在一个实验例中,从增强实际内容天生器中选择一组增强实际内容发生器,所选择的增强实际属性天生器包罗用于应用3D结果的至少一个AR属性发生器;表现包罗可选图形项目的转盘界面,每个可选图形项目对应于相应的增强实际内容天生器;从可选图形项目中吸收对第一可选图形项目的选择,第一可选图形项包罗用于应用第一3D结果的第一增强实际内容天生器;将与所选择的第一可选择图形项相对应的第一增强实际内容天生器应用于第一图像数据和第一深度数据;天生消息,所述消息包罗对第一图像数据和第一深度数据应用的第一增强实际内容天生器。 42. 《Apple Patent | Locating content in an environment(在情况中定位内容)》 在一个实验例中,专利形貌的方法包罗确定电子装备的装备位置,然后向内容源发送哀求。此中,所述哀求包罗电子装备的位置,与形貌内容项相对于物理情况的内容位置的表现位置信息相干联的内容项。基于内容项,内容源在基于装备位置界说的地区内的内容位置来选择内容项。所述方法同时包罗将内容项的表现表现为盘算机天生实际场景的一部分。 43. 《Apple Patent | Finger devices with self-mixing interferometric proximity sensors(苹果专利:具有自混淆干涉式靠近传感器的指戴装备)》 在一个实验例中,专利形貌的体系可以包罗从用户手指网络输入的一个或多个指戴装备。指戴装备可以包罗丈量到用户手指的间隔的一个或多个自混淆干涉式靠近传感器。靠近传感器可以丈量靠近传感器和靠在用户手指侧部之间的间隔变革。自混淆干涉式靠近传感器可以包罗激光器和光电二极管。在一个摆设中,单个激光器驱动器可以使用时间复用来驱动多个自混淆靠近传感器的激光器。自混淆靠近传感器可以根据占空比来操纵。 44. 《Apple Patent | Point cloud compression using a space filling curve for level of detail generation(苹果专利:使用空间添补曲线天生细节级别的点云压缩)》 在一个实验例中,专利形貌的体系包罗设置为压缩点云的属性信息的编码器,和/或设置为解压缩压缩属性信息的解码器。至少一个起始点的属性值包罗在压缩的属性信息文件中,而且属性校正值包罗在压缩的内容信息文件中。基于空间添补曲线确定点的次序,此中编码器息争码器基于空间添补线确定点的雷同次序。通过根据差别的采样参数对有序点举行采样来确定细节级别,而且使用确定的次序来推测细节级别中的点的属性值。编码器基于推测值与压缩之前的原始值的比力来确定属性校正值。解码器基于吸收的属性校正值来校正推测的属性值。 |

专注IT众包服务
平台只专注IT众包,服务数 十万用户,快速解决需求

资金安全
交易资金托管平台,保障资 金安全,确认完成再付款

实力商家
优秀软件人才汇集,实力服务商入驻,高效解决需求

全程监管
交易过程中产生纠纷,官方100%介入受理,交易无忧

微信访问
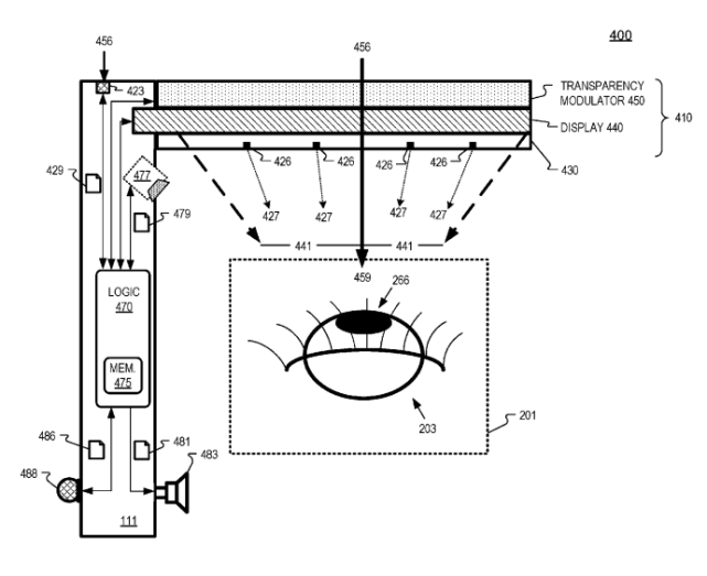
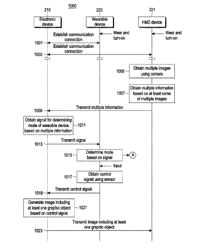
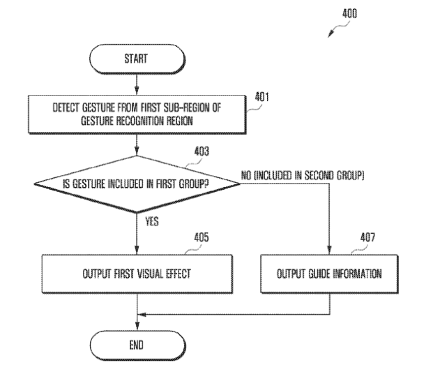
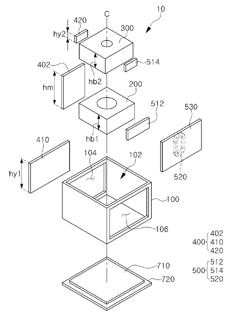
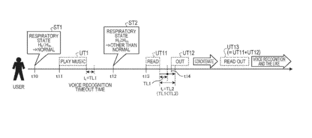
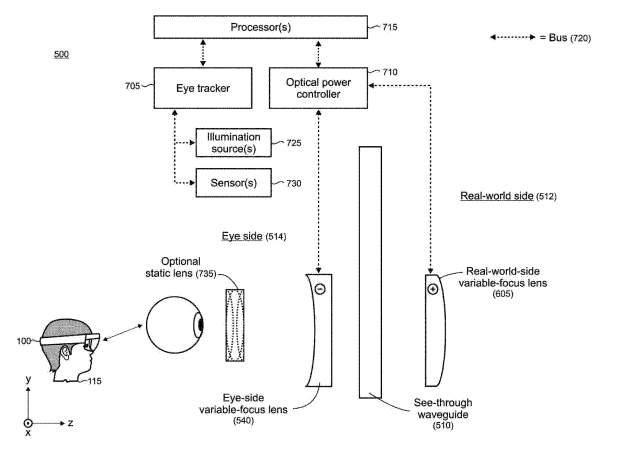
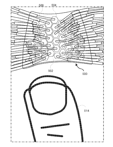
手机APP