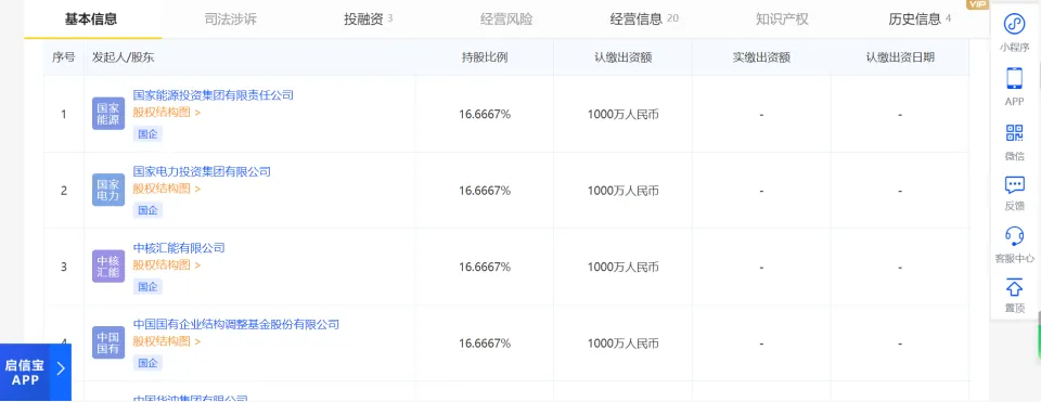
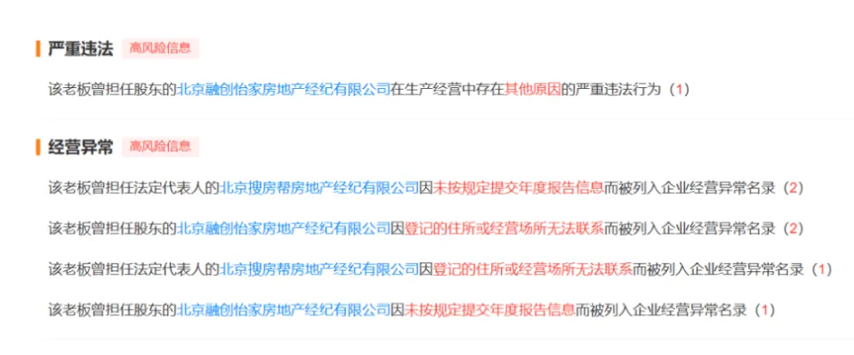
每经编辑:毕陆名 据中核汇能4月8日晚间消息,央企中国核电旗下控股子公司中核汇能在其微信公众号发布一则严正声明,直指一家名为国恒基业控股团体有限公司(简称“国恒基业”)的企业,假冒中核汇能公司子公司,并大概存在以公司部属子公司名义开展非法活动的环境。 值得留意的是,国恒基业伪造质料的“受害者”不止中核汇能一家。据启信宝数据表现,这家企业的工商信息中,还包罗国家电力投资团体有限公司、中国石油旗下的中国华油团体有限公司、国家能源投资团体有限责任公司三家央企,以及中国国有企业结构调解基金股份有限公司等两家“国字号”基金。 据上海证券报4月9日报道,记者从中国核电干系人士相识到,股东列表的“兄弟单元”也是被该非法分子通过伪造干系质料等方式,注册成为部属子公司的。制止记者发稿时,涉事的别的央企还尚未发声。 中核汇能严正声明中核汇能在声明中指出,近期,公司发现有非法分子通过伪造干系质料等方式注册为公司部属子公司,并大概存在以公司部属子公司名义开展非法活动的环境,假冒企业信息如下: 公司严正声明如下: 1.经核实,国恒基业控股团体有限公司与公司无任何附属或股权关系,也不存在任何投资、相助、业务等关系,其统统活动均与公司无关。请社会各界进步鉴戒,留意防范风险,如发现其违法犯罪活动,请尽快到公安构造报案,并可通过官网公示接洽方式与公司接洽或举行举报。 2.对假冒公司的单元和个人所开展的任何非法活动,公司依法不负担当何任务和责任,敬请广大市场到场者知悉,以免肴杂。 3.公司直接或间接投资的部属企业名录可拜见公司官网干系栏目。 4.公司严正要求有关单元制止假冒公司及子公司的活动。对于任何非法分子涉及陵犯公司权益的活动,将接纳须要法律步伐,果断维护公司的正当权益。 据公司官网先容,公司创建于2011年,是中国核工业团体有限公司(以下简称“中核团体”)旗下上市公司中国核能电力股份有限公司(以下简称“中国核电”)的控股子公司,是中核团体、中国核电非核干净能源产业开辟、创建、运营的专业化平台。 中核汇能接纳“公司本部-省级公司/平台公司-项目公司”三级管控模式,本部设15个职能管理部分和5大中心,如今下设24家省级公司、5家投资平台公司和1家专业化共享平台公司,省级公司所辖259个项目公司分布在天下30个省市自治区。共有员工2100余人。 国恒基业啥来头?公开数据表现,国恒基业法定代表人名为张奔,如今在3家企业担当法人,7家企业担当高管。 张奔担当高管的企业多为商贸公司,除涉嫌伪造质料注册的国恒基业外,注册资源均在100万元人民币以下。别的,张奔担当法人的两家公司,注册资源也均在50万元以下。 值得一提的是,张奔曾担当股东的一家名为“北京融创怡家房地产经纪有限公司”的企业,是最高人民法院所公示的失信公司,最新备案日期为2022年6月。 别的,张奔担当法人或高管的多家企业都出现了谋划非常,此中包罗未按规定提交年度陈诉信息、登记的住所或谋划场所无法接洽等环境。 国资委曾多次脱手“打假”国务院国资委长期以来对打击假冒国企高度器重。2021年和2022年已两次对“假央企”和“伪国企”举行会集公示。 2021年10月,26家中心企业通过官网、微信公众号等多种渠道对外公告了353户假冒国企名单。告示社会各界,上述公司及其下设各级子公司均为假冒国企,与中心企业无任何附属或股权关系,也不存在任何投资、相助、业务等关系,其统统活动均与中心企业无关。提示社会各界进步鉴戒,留意防范风险。 2022年9月20日,国务院国资委网站发布了第二批假冒中心企业名单。 国务院国资委体现,近期,部分中心企业对外公告了一批假冒国企名单,明确有关公司及其下设各级子公司均为假冒国企,与中心企业无任何附属或股权关系,也不存在任何投资、相助、业务等关系,其统统活动均与中心企业无关。现将中心企业公告的假冒国企名单汇总公布,请社会各界进步鉴戒,留意防范风险,如发现其违法犯罪活动,请尽快到公安构造报案。 逐日经济消息综合上海证券报、启信宝 逐日经济消息 |

专注IT众包服务
平台只专注IT众包,服务数 十万用户,快速解决需求

资金安全
交易资金托管平台,保障资 金安全,确认完成再付款

实力商家
优秀软件人才汇集,实力服务商入驻,高效解决需求

全程监管
交易过程中产生纠纷,官方100%介入受理,交易无忧

微信访问
手机APP
关于我们|广告合作|联系我们|隐私条款|免责声明| 时代威客网
( 闽ICP备20007337号 ) |网站地图
Copyright 2019-2024 www.eravik.com 版权所有 All rights reserved.


