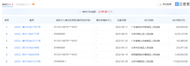
作为“中国奢侈品电商第一股”的寺库,迩来贫困不停。 疑似跑路的听说刚刚平息,克日全资子公司又被申请停业整理。本年以来,寺库已两次被申请停业重组。 着名电商又失事! 全资子公司被申请停业整理 据企查查,8月25日,上海寺库电子商务有限公司新增一则停业检察案件,申请人为上海维旗贸易有限公司,包办法院为上海市第三中级人民法院。 天下企业停业重整案件信息网公示的信息表现,上海市第三中级人民法院这一公告文号为(2022)沪03破申482号。该法院定于9月15日14:30构造线上发言。 资料表现,上海寺库电子商务有限公司建立于2013年9月,注册资源1.2亿人民币,企业范例为有限责任公司(天然人投资或控股的法人独资),法定代表人为孟祥军,由北京寺库商贸有限公司全资持股。 如今,该公司有6条被实验人信息,被实验总金额达2299.80万元。 别的,该公司还存在在其他企业持有的股权被冻结、该公司有股东的股权被冻结的环境。 本年以来,寺库已两次被申请停业重组。 1月5日,柴晨旭曾申请对北京寺库举行停业检察,但越日申请人却撤回了申请。8月10日,天下企业停业重整案件信息网表现,北京寺库商贸有限公司被申请停业检察,申请人为赵冬萍。 人去楼空,疑似跑路? 寺库回应:在岗员工几百人 据悉,寺库网是一家奢侈品电商,旗下设有寺库商城、寺库智能、寺库拍卖和寺库金融四大焦点业务板块,为中国高端斲丧人群提供从奢侈品新品贩卖、判定评估、 售后养护、到奢侈品再流通等全方位的“一站式”奢侈品专业服务。从属于北京寺库商贸有限公司旗下网站。北京寺库的实控人为寺库首创人李日学。 而在此前,有媒体报道称,位于北京三里屯的寺库大厦已空空如也,仅剩5层另有部门工作职员,疑似跑路。此消息一出就登上热搜。 2022年8月17日,北京三里屯寺库大厦一楼已清空 (图片泉源:红星消息) 据红星资源局,寺库公关负责人对此表现,寺库办公室不绝在5层办公,数百名员工没有厘革。该负责人表明,没有续租的面积之前一部门用于堆栈,但由于奢侈品的存放环境要求,已转运至北京的其他堆栈保管。由于条约到期,寺库除5层办公室之外的面积没有续约。 但人们对于寺库的质疑并非空穴来风。寺库也确实开始在线下紧缩。 |

专注IT众包服务
平台只专注IT众包,服务数 十万用户,快速解决需求

资金安全
交易资金托管平台,保障资 金安全,确认完成再付款

实力商家
优秀软件人才汇集,实力服务商入驻,高效解决需求

全程监管
交易过程中产生纠纷,官方100%介入受理,交易无忧

微信访问
手机APP
关于我们|广告合作|联系我们|隐私条款|免责声明| 时代威客网
( 闽ICP备20007337号 ) |网站地图
Copyright 2019-2024 www.eravik.com 版权所有 All rights reserved.


