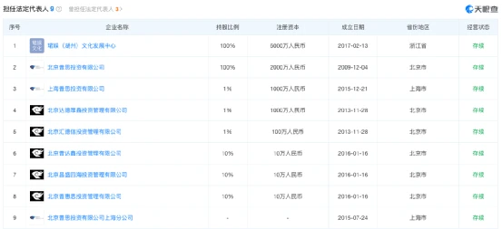
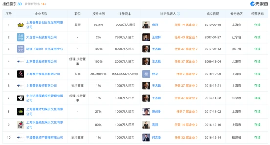
中国基金报记者 文景 本日,#王思聪已退出万达团体董事职务#的消息冲上微博热搜第一。 此前,万达掌舵人王健林曾公开向媒体表态,“王思聪没爱好接自己的班,管十几万人他以为太辛劳。" 王思聪卸任的消息一出,不少网友纷纷表现,”我乐意吃这份苦! “ 也有网友汉化喊话聪哥,“巨额资产不要了?” 王思聪卸任万达董事职务 王健林曾表态:他没爱好接我的班! 天眼查APP表现,8月29日,大连万达团体股份有限公司发生工商变更,王思聪退出董事行列。股东信息表现,现在该公司由大连合兴投资有限公司、王健林共同持股,王健林为公司董事长、法定代表人及现实控制人。 公开资料表现,该公司建立于1988年,注册资源10亿元人民币,登记状态为存续,所属行业为房地产行业,策划范围包罗商业地产投资及策划、旅店建立投资及策划、连锁百货投资及策划、影戏院线等文化产业投资及策划等。 作为万达的掌舵人,王健林面对业绩答应的压力可想而知。客岁11月尾,王健林曾公开讨论对交班人题目,并表现:“我跟思聪探究过反复,他没爱好接我的班,管十几万人他以为太辛劳”。 天眼查APP信息表现,现在王思聪关联企业共37家,此中存续状态的有26家,包罗上海熊猫互娱文化有限公司、万达产业投资有限公司、大连合兴投资有限公司、珺娱(湖州)文化发展中央、北京普思投资有限公司等,涉及投资管理、科技、娱乐、影视、食品等行业。同时,王思聪任9家公司法定代表人,在16家公司中担当董事长、董事、监事等管理职位,并在24家公司中持有股份,拥有上百家公司的现实控制权。 本年2月刚卸任万达“飞凡网”董事 记者注意到,就在本年2月,王思聪还卸任了上海新飞凡电子商务有限公司董事一职。 2月19日,天眼查数据表现,克日,万达团体旗下的电商平台——飞凡网的运营主体上海新飞凡电子商务有限公司发生工商变更,王思聪卸任董事,前万达老臣曲德君卸任董事长,徐辉卸任董事兼总司理,别的,高茜、高晓军卸任公司监事。与此同时,新增司理、实验董事朱战备,新增监事向丹华。 天眼查股东信息表现,上海新飞凡电子商务有限公司由万达金融的运营主体上海万达网络金融服务有限公司全资控股,公司疑似现实控制人为王健林。 早在2014年11月30日,飞凡网举行战略融资时,投资方中有百度与腾讯的身影。彼时,万达团体持有70%股权,百度、腾讯各持15%股权。2015年3月,飞凡网正式建立,注册资源4.4亿元。 飞凡网在接下来的数年中并没有孵化出有影响力的项目,内部动荡不安,高管一连离职。据观察者网此前报道,2016年,腾讯和百度寂静退出了万达电商实体业务的主体“飞凡网”,只剩万达一家。对于飞凡网的失败,王健林在2017年万达年会上公开品评万达网科总裁曲德君(飞凡电商厥后被划到万达网科旗下)。2019年,曲德君也离开了效力了17年之久的万达团体。2017年下半年,万达网科开始渐渐裁人,一年后的2018年6月份,万达、腾讯、高朋建立了一家名为上海丙晟科技的新公司,新公司董事长由万达商管团体总裁齐界担当,CEO由腾讯保举、高朋CEO高峡出任。原飞凡网的部门业务,以及万达网科末了约300名员工团体到场了新公司丙晟科技,飞凡网名不副实。天眼查表现,现在飞凡网只剩不到50名员工。 万达影戏上半年亏损5.81亿元 影戏院线等文化产业投资及策划现在照旧万达团体的主业务务之一。 8月28日晚间,万达影戏发布半年报,披露上半年实现业务收入49.38亿元,同比降落29.79%;业务利润亏损5.83亿元,同比降落187.72%;归属净利润亏损5.81亿元,同比降落190.98%。 为应对资本压力,万达在表现将来将放缓重资产影院发展速率,仅对于非常优质的项目采取重资产模式;加速推动影院轻资产转型,包罗部门新建万达广场内的影院也开始采取轻资产模式相助,在稳步进步市场份额的底子上镌汰投资源钱,进步公司抗风险本事。同时为提升公司团体资产质量和策划服从,公司对部属策划困难的影院举行多轮梳理和评估,操持进一步关闭或转让低效影院。 而关闭低效影院已经不是万达影戏的初次利用。据公开数据,2020年,万达新开业影院64家,关停20家策划效益较差的影院;2021年,新开业自营影院61家,关停策划服从较差的影院9家。本年上半年,万达影戏新开业直营影院13家,关停策划效益较差的影院4家,新开业轻资产影院15家。 股价方面,自客岁2月高点以来,万达影戏股价累计跌了50%,已经腰斩。制止发稿,万达影戏报11.38元/股,市值254亿元。 编辑:小茉 |

专注IT众包服务
平台只专注IT众包,服务数 十万用户,快速解决需求

资金安全
交易资金托管平台,保障资 金安全,确认完成再付款

实力商家
优秀软件人才汇集,实力服务商入驻,高效解决需求

全程监管
交易过程中产生纠纷,官方100%介入受理,交易无忧

微信访问
手机APP
关于我们|广告合作|联系我们|隐私条款|免责声明| 时代威客网
( 闽ICP备20007337号 ) |网站地图
Copyright 2019-2024 www.eravik.com 版权所有 All rights reserved.


