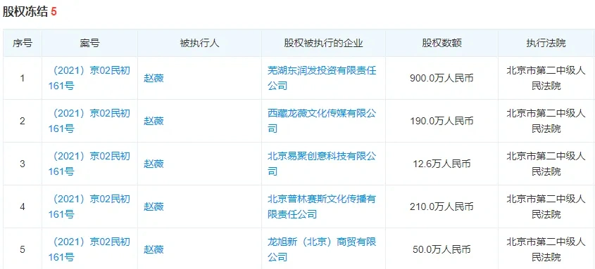
1本日下战书。 赵薇官宣仳离。 她说,本身多年前与黄有龙仳离,婚姻关系在法律上早已解除。 并夸大: “任何关于他的事故、言论或消息报道都与我无关。我恳请各方认可这些究竟,克制将我卷入虚伪的关联或无根据的报道。” 这个仳离文案,与我们过往看过的全然差别。 之前的明星仳离,说话都文艺、面子、欲语还休。 赵薇的仳离文案,却冷硬、急遽、杀鸡取卵。 全篇读下来,好像都在透露着一个意思:黄有龙与我无关。 为什么她要急于撇清关系? 是没了感情? 照旧婚姻关系的存在,会给她带来巨大贫困? 接洽她的资源脉络、近期消息,我只能说,水很可能很深。 21998年,《还珠格格》上映。 还在北京影戏学院读大二的赵薇火遍天下。 她一夜成名。 人们可以在各个地方瞥见她—— 大到影戏、电视、广告、杂志; 小到贴纸、开水瓶、铅笔盒。 接受《南边人物周刊》采访时,赵薇说:“整个社会劈面而来。就是有10个我都接不住。各种场合都必要你去,各种地方都对你发出约请 ……就是为了看你一下。” 此时,她是一个演员。 一个艺人。 与资源市场无染。 她说:“我不会做买卖,由于我比较容易信任人,无奸不成商嘛,我也不敷奸。” 但1999年,电视传媒范畴实行“制播分离”。 民营资源开始到场影视综艺的制作。 千禧年后,影戏投融资政策放宽,民营影戏公司纷纷涌现,资源市场之门大开。 此后20年间,赵薇乘上东风,不但成为明星,还成为资源市场弄潮儿。 31999年,赵薇成为上海欣艺文化传播有限公司的执行董事,开启贸易发蒙之旅。 2000年,军旗装事故爆发。 赵薇奇迹急转直下。 喜好与讨厌一线之隔,名声暴露它暴虐的一面。 她过早见地风暴,开始习惯于风险预警。 “老天从来没给我什么翘尾巴的机会。现在一有点什么功德,我就想,不知道接下来尚有什么事等着我。” 她开启半隐退模式,将重心放到贸易上。 2002年,赵薇出资210万元,建立北京普林赛斯文化传播有限公司。 2003年,赵薇成为A股上市公司重庆路桥的第五大股东。 此后十余年,她举行过多项投资,参股过梦洛酒业贸易公司、霍尔果斯一本影业等等。 但都没有搅起太洪流花。 直到遇见黄有龙。 2009年,是赵薇资源人生的分水领。 她与黄有龙完婚。 这场婚姻意味着,她不但成为人妻,也开始正式玩转“明星股东”的游戏规则。 这一年,北京三里屯“乐福餐厅”开业,赵薇东风得意。 她说: “我现在的理想就是做买卖,酿成豪富豪。” 42011年4月。 唐德影视增资扩股。 赵薇和范冰冰斥资入股,每股资源仅为2.3元。 到了2015年,中国影视行业进入黄金期。 唐德上市。 上市当日,暴涨44%。 赵薇持有投票为117万股,得到150倍的惊人回报率。 她站在敲钟现场,志得意满。 大获全胜之后,她的投资神话还在继续。 2014年底,赵薇夫妇斥资近31亿港元,购入阿里影业9.18%的股份,成为公司第二大股东。 此后阿里影业大涨。 她两度减持,至少赚取了17.888亿港元。 她自此被誉为“娱乐圈股神”、“女版巴菲特”。 5人在顶峰之时,容易失控。 会高估本身。 对世事过于乐观。 从2016年开始,她开启更大的博弈。 但她没想到,她的至暗时刻开始到来。 2016年11月,龙薇传媒建立。 注册资源200万元。 赵薇持股95%。 公司建立不到两个月,就传出要以30亿元,收购上市公司万家文化29.1%股份的消息。 然而,龙薇传媒只注资6000万元。 剩余的30亿,都是通过第三方乞贷与股票质押融资筹得。资金杠杆高达50倍。 事故曝光后,买卖业务于2017年3月被制止。 万家文化股价大跌。 散户丧失惨重。 2017年11月,证监会对赵薇和黄有龙处以30万元罚款,且5年克制进入证券市场。 此后几年,她的贸易版图不停缩水。 顶峰时期的17家公司开始陆续注销。 2021年4月,赵薇名下多个所持股权陆续被冻结,合计金额超万万。 今年4月11日,又有所持股权被冻结,金额为500万元人民币。 上个月,赵薇名下新增一则被执行人信息,执行标的8488元。 哗闹一场后,赵薇寂静下来。 6赵薇的丈夫黄有龙,曾是一个秘密的贩子。 《财经》曾写过如许一个细节。 一个打仗过黄有龙的贩子说,黄有龙很会做人。 有一次,他与黄有龙等买卖同伴共同登上一艘豪华游轮。 黄有龙上船后便给船上几位服务生每人1万元的小费,嘱咐要好好招待。 几日后下船时,同行的另一名富豪正要给服务生小费。 黄有龙便笑着奉劝对方:“钱应该上船的时候给嘛,都要走了给小费有什么用?” 但阛阓同样风波迭起。 险状环生。 不会由于你会做人,就低沉亏损和负债。 就在赵薇官宣仳离的当下,黄有龙被曝负债11.2亿港币。 以致租住的香港荃湾的房子,都交不起租金,被业主追讨280万港元。 夫妻二人均被债务围绕。 在这种环境下,长处与债务切割开来,保全妻儿,大概是一个更明智的决定。 以是不少人以为,这场仳离,只是技术性仳离。 与感情无关。 与长处权衡有关。 因此,看到赵薇官宣仳离,就感叹爱情的死亡,是稚子机动的。 到了资源游戏里,婚姻也是其中一环。 分与合,意味着亿元资源的动荡。离与散,代表了无数散户的失与得。 赵薇本身都说了。 她拍影戏,都不想拍爱情,由于—— “哎呀,爱情最没意思了。” 她早就对“爱”祛魅。 不但不信影戏中的爱情,也不死守婚姻。对债务缠身的丈夫,该切割时就切割,绝不手软。 玩转贸易规则的人,大概,都是狠脚色。 究竟拎得清,才气少被骗。 心够狠,才气活下来。 |

专注IT众包服务
平台只专注IT众包,服务数 十万用户,快速解决需求

资金安全
交易资金托管平台,保障资 金安全,确认完成再付款

实力商家
优秀软件人才汇集,实力服务商入驻,高效解决需求

全程监管
交易过程中产生纠纷,官方100%介入受理,交易无忧

微信访问
手机APP
关于我们|广告合作|联系我们|隐私条款|免责声明| 时代威客网
( 闽ICP备20007337号 ) |网站地图
Copyright 2019-2024 www.eravik.com 版权所有 All rights reserved.


