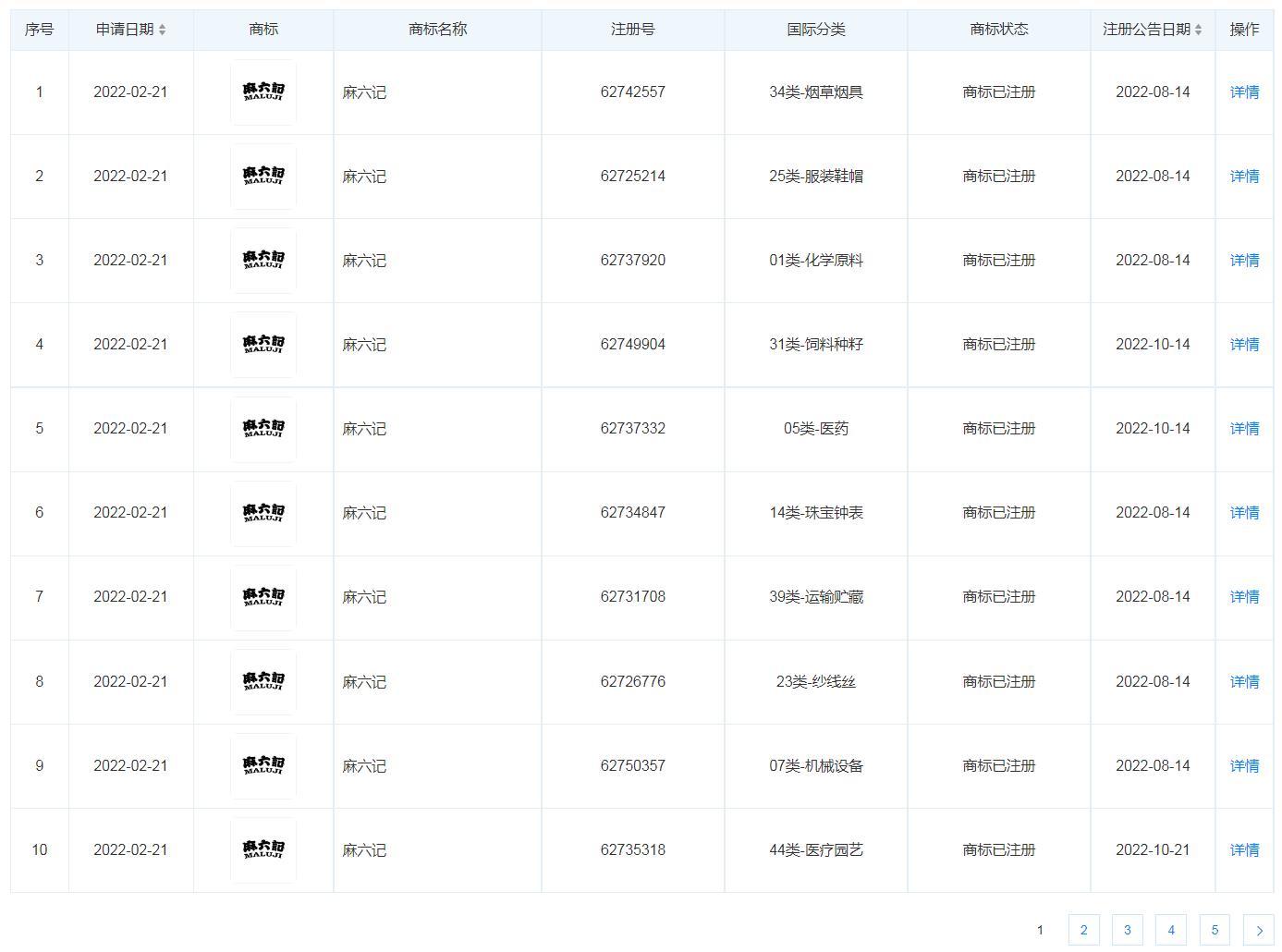
中新经纬11月24日电 汪小菲与大S的纠纷带火了汪小菲与其母亲张兰的新餐饮品牌“麻六记”。 天眼查App体现,近期,北京菲特兰装饰计划有限公司申请的多个“麻六记”商标注册乐成,国际分类涉及烟草烟具、服装鞋帽、化学质料、饲料种籽、医药、珠宝钟表、运输贮藏、医疗园艺等。 泉源:天眼查 此前,该公司已完成注册多个“麻六记”“小汪麻六记”“麻六记冷沏茶”“麻六记毛雪旺”等商标。 值得一提的是,日前,汪小菲退出北京菲特兰装饰计划有限公司股东行列,如今该公司由汪玺和新增股东安勇分别持股99%、1%。不外,汪小菲仍继承该公司实验董事职务。 股东信息、股权穿透图体现,北京菲特兰装饰计划有限公司为北京食通达科技发展有限公司控股股东,后者为北京麻六记餐饮管理有限公司、北京麻六记食品科技有限公司、北京麻六记食品贩卖有限公司等公司的股东。(中新经纬APP) |

专注IT众包服务
平台只专注IT众包,服务数 十万用户,快速解决需求

资金安全
交易资金托管平台,保障资 金安全,确认完成再付款

实力商家
优秀软件人才汇集,实力服务商入驻,高效解决需求

全程监管
交易过程中产生纠纷,官方100%介入受理,交易无忧

微信访问
手机APP
关于我们|广告合作|联系我们|隐私条款|免责声明| 时代威客网
( 闽ICP备20007337号 ) |网站地图
Copyright 2019-2024 www.eravik.com 版权所有 All rights reserved.


