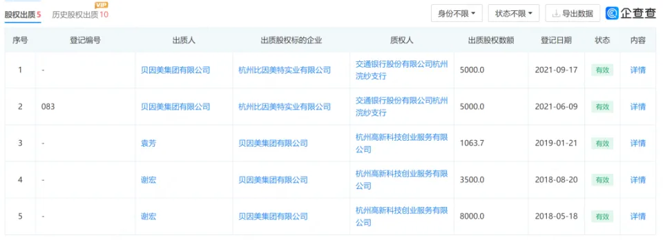
作者 | 张凯旌 编辑丨高岩 泉源 | 野马财经 曾喊出“专为中国宝宝研制”,旗下坐拥“爱加”、“冠军宝物”等品牌的贝因美,业绩再一次坐上了过山车。 1月30日,贝因美(002570.SZ)发布的业绩预报体现,2022年预计归属于上市公司股东的净利润亏损1.2亿元-1.8亿元,扣非净利润亏损1.6亿元-2.2亿元。而2021年公司净利润为8116.03万元。 刚实现扭亏,下一年就重归亏损,这已经是贝因美已往七年中第二次出现类似环境。团体来看,七年中贝因美有五年出现亏损,以业绩预报中最低亏损额盘算,公司累计净亏损至少达22.29亿元。 自己的日子不好过,大股东也正陷入债务漩涡。1月29日,贝因美获悉,因控股股东贝因美团体未按约定付出相干本息构成违约,债权人中航信托已向杭州中院申请实行,被实行人为贝因美团体、谢宏、袁芳。此中,谢宏、袁芳分别是贝因美团体的实控人和前法定代表人。 不外,贝因美方面体现,公司现在谋划环境精良,现金流也渐渐改善,正按照既定谋划管理改善战略推进各项工作,积极实现投入产出的良性循环。大股东的资金环境不会对上市公司生产谋划产生影响。 近十年前的国产奶粉一哥,现在却在为红利而挣扎。贝因美履历了什么? 大股东债务违约,贝因美手头也不宽裕贝因美团体的违约,泉源于2018年的一起乞贷。 当年12月,贝因美团体将自己持有的4800万股贝因美股份质押给中航信托用于融资,过后看融资金额为2.33亿元,约定的质押到期日为2022年1月10日。 彼时正值贝因美品牌最艰巨的一段韶光。一方面,上市公司连续出现巨额亏损,2018年以致被“披星戴帽”,濒临退市;另一方面,团体上下都遭遇了资金链危急,亟需尽快自救。 在此配景下,首创人谢宏火线回归,兼任贝因美团体总裁和贝因美董事长,并在各个层面睁开了大刀阔斧的厘革。而化解运动性危急,天然是厘革的重中之重。 在与中航信托签条约前,贝因美团体已经用同样的方式向农行杭州滨江支行和杭州高新科创公司举行了融资。同时,贝因美还引入了国有四家金融资产管理公司之一的长城资产旗下的长城国融作为三股东,资助自身优化财政布局,改善根本面。 一系列步伐在当年取得了立竿见影的结果,2018年贝因美马上扭亏乐成。但好景不长,很快上市公司重新陷入亏损,而贝因美团体所持贝因美股权的高比例质押状态,则不停连续至今。 现在,中航信托向贝因美团体提供的2.33亿元融资已构成违约。而制止1月30日,贝因美团体持有的贝因美股份中,处于质押或冻结状态的股份占比高达96.68%。 根据贝因美2021年年报,包罗中航信托在内,贝因美团体质押股份的机构共有8家。除了中航信托,另有4家机构也已过了质押限期,分别是农行杭州滨江支行、建行杭州高新支行、交行杭州浣纱支行以及桐乡民融。 此中,贝因美团体已在客岁11月将质押的500万股股份直接过户给了桐乡民融。不外,贝因美尚未披露贝因美团体在别的三家“金主”处质押的股权是否也存在违约环境。 除了质押贝因美股权,工商资料体现,贝因美团体还将旗下比因美特公司的股权出质给了交行杭州浣纱支行。 别的,1月16日贝因美团体还被杭州市中院列为被实行人,实行金额约3.16亿元。 大股东遭遇“钱荒”,贝因美自己的资金状态也难言充裕。 迩来的一系列动作体现,贝因美正在紧锣密鼓地筹措资金。如1月13日,贝因美公布了一项拟向银行申请26.30亿元综合授信额度的议案;同时,公司还拟以账面代价10.43亿元的自由地皮、房屋等固定资产,向银行申请一年期贷款。 究竟上,这批固定资产已经反复被贝因美抵押了4年。自2020年起,每到年初公司都会发布类似的抵押公告,区别只是抵押物的数目和账面代价略有升沉。 而从财报上来看,制止客岁三季度,贝因美账上期末现金及现金等价物余额仅剩5.51亿元,但公司的短期乞贷为9.21亿元,有息负债总额达9.76亿元,速动比率低于1,短期偿债有不小压力。 谢宏自救,结果多少?回归后的谢宏,曾对贝因美抱有很高的等待。 2020年贝因美发布的《2020年-2024年发展战略规划纲要》提及了两个目的,其一是产物贩卖规模重回行业“三甲”,其二是构筑营收破千亿的母婴生态圈。但行至2023年,公司无论隔断哪一个目的都另有不小的差距。 泉源:罐头图库 至少从负债端来看,公司和背后的大股东不停在“满负荷运转”。那么,当初谢宏借来纾困的钱都花去哪了? 一部门是用于办理汗青遗留标题。归还旧账、重修渠道、重构体系、重造团队,都须要付出代价。 2017年,贝因美的短期乞贷为9.38亿元,长期乞贷5.2亿元,一年内到期的非运动负债2.61亿元,有息负债总额超17亿元。但公司的钱币资金仅7.72亿元,此中还包罗3.1亿元已质押的定期存款和2000万元不能随时支取的银行承兑汇票、光荣证包管金。再联合连续第五年降落,已降至0.97的运动比率,公司的短期偿债本事已经到了汗青低点。 对比现在,贝因美固然仍有运动性标题,但总负债、有息负债都降落了不少,谋划性现金流也早已转正。 与此同时,贝因美团体也腾不脱手帮上市公司。2018年-2022年,贝因美团体累计新增5.45亿元被实行金额。为周转资金,贝因美团体一度拍卖了持有的分众传媒股权,并在2021年初将5500万股贝因美股份一次性转让给信达华建,套现3.02亿元。 别的,贝因美的“高赊销”战略也不停在给公司造成资金压力。2015年,国家食药监局对奶粉配方注册制出台新规后,各厂商为清库存大打代价战,想要抢占市场的贝因美,便开始对优质客户举行大幅度授信。换言之,贝因美开始向分销商、经销商大量压货,而应收账款这颗雷也就此埋下。 乳业分析师宋亮曾对“界面消息”体现,向经销商赊销货品是贝因美的一大标题,这些赊销的产物卖不掉就形成了积贮的库存,进一步形成应收账款。而积贮后日期不好的货品,仍旧须要贝因美来整理,只能亏损出清。 直至近两年,贝因美的应收账款仍旧维持在高位。2020年、2021年、2022年上半年,公司应收账款账面余额分别为11.45亿元、11.39亿元、11.22亿元,坏账预备余额分别为5.03亿元、3.98亿元、4.1亿元。期间贝因美还计提了累计超3亿元的存货跌价预备。 最新发布的2022年业绩预报中,贝因美也提到,业绩出现较大幅度亏损与公司进一步增长应收账款坏账预备计提有关。公司董秘直言,部门是联营企业谋划不善造成的亏损,恒天然时期(2015年-2020年)签订的采购协议影响也比力大。“它的基粉没到达我们的质量要求,我们就没采购,但条约里对采购量有要求,没到达须要举行违约赔偿。” 更告急的是,贝因美的红利本事没能实现显着提拔。2017年至2022年三季度,公司毛利率从60.12%降至35.17%,市场份额早已不复当年。 期间固然在2018年、2021年实现扭亏,但此中很大一部门是靠变卖资产、淘汰付出实现的。2015年-2020年,贝因美的净资产一起从36.68亿元降至14.53亿元;2015年-2021年,公司的员工数目也从4002人淘汰至1933人,两项数据缩水均超五成。 原来整理前人留下的债已经是个困难,公司自我造血本事又不敷,终极陷入恶性循环,纵然有从上到下的厘革,也很难在短时间内完全摆脱债台高筑的逆境。 中国食品产业分析师朱丹蓬以为,贝因美作为曾经的国产奶粉一哥,这几年团体发展受到比力大的克制。在整个奶粉的竞争当中,公司并没有凸显出原有的品牌效应以及规模效应。以是从整个产业端、资源端、渠道端、斲丧端去看,贝因美未来的发展存在较大变数。 受此影响,贝因美股价自2015年高点至2022年5月一度跌超85%。此前公司纾困时引进的长城国融也萌生退意。连续减持叠加被动稀释后,至2022年三季度其持股比例已从5.09%降至2.89%。 能逃出红利与亏损的交织循环吗?不外,贝因美现在的逆境也不能忽略一些客观因素的影响。 比年来,我国出生率和出生生齿连续走低,直接导致了奶粉产量降落。根据中国奶业协会的数据,2016年-2021年中国奶粉产量从139万吨降至97.9万吨。 别的,疫情的反复也为公司的生产谋划带来了贫苦。究竟上,制止2022年前三季度,贝因美都还处于红利状态,而公司在表明2022年业绩预亏的缘故起因时提到,第四序度疫情防控政策巨大调解前后,公司部门工厂被封控、大量生产工人、贩卖职员缺勤,外围物流停滞,公司团体运营节奏被打乱,进而导致部门订单无法实时满意,本钱费用上升。 但贝因美现在还没到山穷水尽的地步。 起首,公司地点的赛道尚具备肯定发展性。德邦证券指出,只管奶粉需求量有所下滑,但婴幼儿配方奶粉市场规模总体仍保持妥当增长,欧睿数据猜测,2022年我国婴幼儿配方奶粉市场规模为1717亿元,已往5年年复合增长率2.91%。 现在,受益于国产更换的趋势,以及新国标叠加二次注册的变革,行业中小企业有望加快出清,利于优质品牌市占率进一步提拔。据Euromonitor数据,2022年市占率排名前十的奶粉品牌,中外各占五席,贝因美排名第十。 其次,贝因美毕竟曾身为“国产奶粉一哥”,在行业内有不少积聚。 研发方面,制止2022年上半年,公司拥有发明专利21项,建有浙江省高新技能研究开发中央、浙江省企业研究院等省部级以上研发机构;2019年,公司还在国内率先取得了特别医学用途婴儿配方食品0001号无乳糖配方,以满意乳糖不耐受婴儿的产物需求。 产物方面,贝因美的矩阵布局涵盖差别代价带、年事段,辐射整个母婴斲丧圈层。此中客岁6月,公司刚推出爱加有机A2婴幼儿配方乳粉,补足高端产线的同时,也贴合未来婴幼儿奶粉的斲丧升级趋势。 而随着对渠道的整理,贝因美经销商的数目也有所回暖。2020年时有942家,至2022年上半年已增至1685家。公司还在客岁11月透露,年内以在线化、数智化为主的新零售贩卖额占团体贩卖额的比例达50%。贝因美称,渴望新的一年在新零售的加持下,可以更好助力公司绩效的连续改善。 宋亮以为,贝因美现在的战略方向包罗三方面:第一是重回第二梯队,将品牌进一步聚焦,重点打造特医产物;第二是加快推进营养品业务的发展;第三是为了斲丧公司的产能,推进代工业务。 好消息是,有了谢宏的坐镇,贝因美的战略和谋划相对稳固,不会再重蹈2018年前董事长频仍更迭的覆辙。但错过了奶粉行业发展黄金时期的贝因美,想重回顶峰也将无比困难。 贝因美上市的2011年,国内奶粉品牌只有20多个,但到了谢宏回归的前一年,国内大巨细小的奶粉品牌有2000多个。至少,贝因美还没能在这个群雄逐鹿的期间证明过自己。 你或身边的家人朋侪有买过贝因美的奶粉吗?怎样对待公司这些年来的升沉?品评区聊聊吧! |

专注IT众包服务
平台只专注IT众包,服务数 十万用户,快速解决需求

资金安全
交易资金托管平台,保障资 金安全,确认完成再付款

实力商家
优秀软件人才汇集,实力服务商入驻,高效解决需求

全程监管
交易过程中产生纠纷,官方100%介入受理,交易无忧

微信访问
手机APP