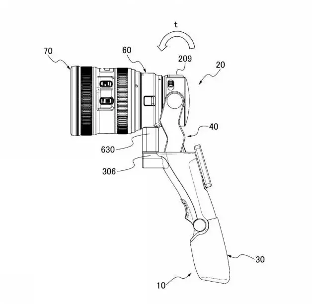
IT之家 5 月 1 日消息,佳能日本官网公布将于 5 月 11 日发布 Vlog 相干产物,海报展示了新品的一角外貌。 如今尚不清晰这款产物是什么,不外从海报来看,新品是一个细长式的装备,有望为一体式云台相机,而非雷同索尼 ZV 的传统造型 Vlog 相机。 IT之家查询发现,佳能此前申请过雷同的手持相机专利,包罗手柄和镜头部门,而且是可更换镜头计划。但即将发布的新品造型非常小巧,大概不会支持更换镜头。 |

专注IT众包服务
平台只专注IT众包,服务数 十万用户,快速解决需求

资金安全
交易资金托管平台,保障资 金安全,确认完成再付款

实力商家
优秀软件人才汇集,实力服务商入驻,高效解决需求

全程监管
交易过程中产生纠纷,官方100%介入受理,交易无忧

微信访问
手机APP
关于我们|广告合作|联系我们|隐私条款|免责声明| 时代威客网
( 闽ICP备20007337号 ) |网站地图
Copyright 2019-2024 www.eravik.com 版权所有 All rights reserved.


