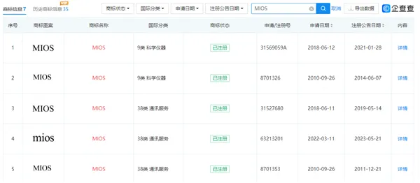
快科技10月10日消息,现在的手机厂商在硬件上疯狂堆料的同时,也连续投入重金来提拔体系的体验。 早在2014年就有听说称小米要做本身的体系,现在大概真的要来了。 日前,数码博主“数码闲聊站”爆料称,“MIUI 14会是MIUI末了一个正式的大版本”,同时他还对小米体系新作提出期待:盼望新作能将动效这个短板彻底扫除掉。 有网友在品评区扣问称“小米14系列是不是搭载MIOS了?”但该博主没有明白回应,只留下三个字——“懂自懂”,应该八九不离十了。 值得一提的是,从企查查网站查询发现,小米科技有限责任公司从2010年就已开始连续申请注册多个“MIOS”商标,国际分类包罗科学仪器、通讯服务、网站服务,现在商标状态多为已注册。 换句话说,小米自研操纵体系很早就有筹划了,颠末多年打磨,应该很快就会与各人见面。 据悉,MIOS除了能在手机上运行,小米汽车车机、物联网装备也能用,根本将全平台覆盖。 据爆料,小米14系列现在根本确定会在双11前发布,现在留下两大牵挂,第一,小米MIOS体系的定名,第二,小米14系列会不会首发全新的自研体系,值得期待。 |

专注IT众包服务
平台只专注IT众包,服务数 十万用户,快速解决需求

资金安全
交易资金托管平台,保障资 金安全,确认完成再付款

实力商家
优秀软件人才汇集,实力服务商入驻,高效解决需求

全程监管
交易过程中产生纠纷,官方100%介入受理,交易无忧

微信访问
手机APP
关于我们|广告合作|联系我们|隐私条款|免责声明| 时代威客网
( 闽ICP备20007337号 ) |网站地图
Copyright 2019-2024 www.eravik.com 版权所有 All rights reserved.


