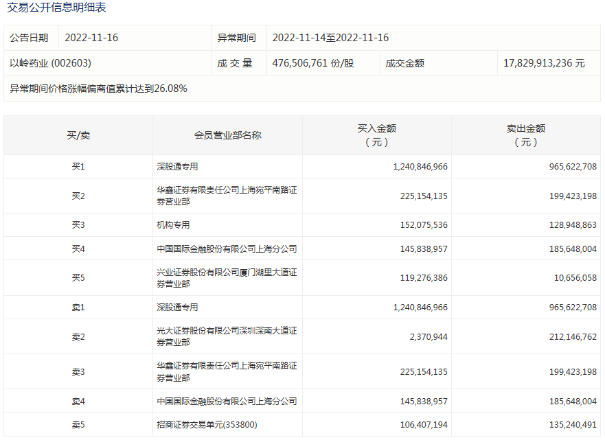
11月16日,以岭药业本日高开后震荡下行,制止收盘,报39.66元,涨5.03%。 盘后龙虎榜数据表现,11月14日到11月16日期间,深股通买入12.4亿元并卖出9.66亿元,机构买入1.52亿元并卖出1.29亿元。 克日有消息称“以岭药业总部地点地石家庄部门药店连花清瘟胶囊断货”。根据媒体报道,有以岭药业工作职员表现,公司这两年不绝在做产能提升的工作,尽努力保障市场的供应。 克日,以岭药业发布三季报,2022年第三季度,公司实现业务收入23.80亿元,同比增长7.41%;实现归属于上市公司股东的净利润3.66亿元,同比增长40.92%;扣非归母净利润为3.65亿元,同比增长49.32%。前三季度,以岭药业研发费用为5.52亿元。 |

专注IT众包服务
平台只专注IT众包,服务数 十万用户,快速解决需求

资金安全
交易资金托管平台,保障资 金安全,确认完成再付款

实力商家
优秀软件人才汇集,实力服务商入驻,高效解决需求

全程监管
交易过程中产生纠纷,官方100%介入受理,交易无忧

微信访问
手机APP
关于我们|广告合作|联系我们|隐私条款|免责声明| 时代威客网
( 闽ICP备20007337号 ) |网站地图
Copyright 2019-2024 www.eravik.com 版权所有 All rights reserved.


