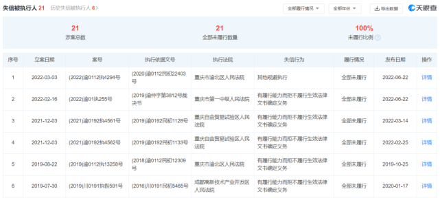
图片泉源@视觉中国 文|闻旅,作者 | 杨凡 为增强国有企业的活力和国有经济的控制力,以2018年推出的国企改革“双百举措”为军号,国有企业改革渐渐进入高潮。但聚焦高度市场化的文旅产业,坐拥优质资源、身为市场中坚的各级国资旅企,其改革步调好像稍显迟滞。 所谓“祸兮福之所倚”,只管疫情对文旅产业造成巨大打击,但由此催生的生存危急,极大刺激了地方文旅团体的求变意识,改革成为其破局突围的必由之路。眼下,以老牌省级文旅团体入场为标记,新一轮国资旅企混改或由此挺进深水区。 01时隔近七年,省级文旅团体再现“央地混改”天眼查信息体现,2月10日,重庆旅游投资团体有限公司(以下简称“重庆旅投”)股权布局发生变动。重庆渝富控股团体有限公司(以下简称“重庆渝富控股”)持股比例由100%降至86.15%,光大兴陇信托有限责任公司(以下简称“光大信托”)和重庆渝调私募股权投资基金合资企业(有限合资)分别以9.4%和4.44%的持股比例,成为重庆旅投新晋股东。 泉源天眼查 与此同时,根据天眼查信息,重庆旅投注册资源从“100000万元人民币”增长到“121407.5153万元人民币”,若以此来推算,重庆旅投此次股权布局调解不止是两位新晋股东加入了增资,控股股东重庆渝富控股也增资4597.19万元。 根据公开资料,重庆旅投建立于2010年,为原重庆交通旅游投资团体旅游板块组建而来,公司早先由重庆市国资委直接持股100%,后于2018年10月转至重庆渝富控股持有,现为重庆市唯一的大型旅游资源综合开辟团体和旅游产业项目市场化谋划运作主体。 至于重庆渝富控股,该公司建立于2016年8月,注册资源1680000万元人民币,是重庆市国资委直管的国有独资综合性资产谋划管理公司,推行地皮、债务、资产重组和战略投资职能。 视线转回新晋股东光大信托,其建立于2002年,注册资源841819.05万元人民币,作为中国光大团体股份公司(公司实控人为国务院,以下简称“光大团体”)金融板块中与银行、保险、证券并列的核心子公司之一。公司由在原甘肃信托的根本上重构建立,现在由光大团体持股51%。 泉源天眼查 再看重庆渝调私募股权投资基金合资企业(有限合资),该私募基金建立于2022年6月,基金管理人为重庆西证渝富股权投资基金管理有限公司(疑似实控人为重庆市国资委,总股权比例99.95%),托管人为中国光大银行股份有限公司。 因资产巨大、业态多元,且承载着引领各自省/市文旅产业发展的重托,省级文旅团体谈混改掣肘浩繁,通常“只听楼梯响,不见人下来”。详细到“央地混改”,上一次有省级文旅团体“躬身出场”,还要追溯到2016年。 2016年,华侨城团体以“文化+旅游+城镇化”和“旅游+互联网+金融”战略入滇,与云南省签订全域旅游框架相助协议,重组云南世博团体、云南文投团体,控股“云南旅游”。通过央地联动、上风互补,把作为央企的资金上风、管理上风、专业上风,同云南世博和云南文投的资源上风、平台上风、团队上风举行整合,通过战略重组、资源共享,全面加入云南全省旅游大开辟。 时隔近7年,在全面摆脱疫情影响的2023年伊始,省级文旅团体再次上演久违的“央地混改”,业界对市场复苏开释久违等候的同时,也给予了重庆旅投与光大信托颇多关注。 02从前实行混改未果,“前车可鉴”警示在前此次混改好像令业界有感突兀,实在稍早已显现预兆。 2月5日,重庆旅投官微发布了一篇名为《怎样干好市委“一号工程”?市国资委如许说》的文章,该文章重点提到,重庆市国资委将以对标培养创建天下一流企业为引领,将以更大力大肆度增强央地国企相助、川渝国企协作、市和区县国企联动,支持民企加入国企改革,重点打造“央企重庆行”品牌。 泉源文章截图 而再往前追溯可以发现,早在多年前,重庆旅投已经有过混改实行。 据报道,2014年,重庆旅投曾与同在重庆的A股上市公司迪马股份(600565)告竣战略相助,意图接纳分步实行的方式,分阶段举行企业混淆全部制改革,迪马股份以非公开辟行股份等方式购买重庆旅投的干系旅游资产,但因短期内无法形成可实行的详细方案,因此决定制止操持本次庞大事项。 只管2014年重庆旅投的初次混改实行以失败告终,但就在当年,另一家由重庆旅游局直管的国资文旅团体,其混改乐成落地。 据《逐日经济消息》报道,2014年4月,重庆市旅游局部属的国企重庆旅游产业发展(团体)有限公司(以下简称“重庆旅发”)将70%股权以2.18亿元挂牌增资扩股。云云次增资扩股完成,重庆旅发团体原独资股东重庆旅游资产管理有限公司(重庆旅游局部属,以下简称“重庆旅管公司”)将以30%股权退居第二大股东。 根据彼时挂牌信息体现,重庆旅发2013年净利润亏损337.35万元。制止2014年2月28日,其业务收入为0元,亏损33.49万元;以2013年6月30日为评估基准日,重庆旅发资产总额评估代价为26337.21万元,负债总额达17011.64万元,评估净资产代价9365.57万元。 联合上述数据,彼时重庆旅发不但运营本领存疑,且身板较为羸弱,但这并未妨碍重庆旅发混改推进。信息体现,2014年9月,四川能汇投资(团体)有限公司以70%的持股比例,成为重庆旅发控股股东,重庆旅管公司以30%持股比例为重庆旅发第二股东。 只管顺遂完成混改,但审阅可以发现,对标重庆旅发增资扩股时对投资者设定的要求(注册资源金达1亿元以上、资产总规模5亿元以上、净资产2.5亿元以上,有较好的经业务绩,迩来3个管帐年度连续红利等),新控股方好像有显着间隔。而后续的究竟证实,此次混改属于典范的反面课本。 泉源天眼查 根据天眼查信息,早在疫情前的2016年,重庆旅发就已经沦为失信被实行人;制止现在,重庆旅发有多达21条失信被实行人信息,失信总金额高达9342.12万元;身负限消令更是多达45条,其持有的包罗重庆旅融旅游发展有限公司、重庆明石天下股权投资基金管理有限公司等在内的多家公司股权,均已被冻结。 至于控股股东四川能汇投资(团体)有限公司,历经多年的债务压顶,其企业业务执照已于2022年4月7日被吊销。 03主业遭疫情暴击,重庆旅投亟待突围令人唏嘘的插叙暂告一段落,视线转回重庆旅投,历经“高投司”、交旅团体、旅游团体三次转型、四个发展阶段,现现在的重庆旅投力气已经不容小觑。 官网信息体现,重庆旅投现有景区、旅店、邮轮、观光社、聪明旅游、旅游整合营销、旅游康养等旅游产业链干系业态,制止2021年末,公司有员工4500余人,拥有18家子公司,年旅游欢迎人次超1100万人次,累计欢迎8000万余人次。 泉源网站截图 明面结果亮眼不假,但分析运营近况,重庆旅投面对的挑衅可谓困难。 根据《重庆旅游投资团体有限公司2022年度跟踪评级陈诉》,制止2021年底,重庆旅投(归并口径)总资产为178.77亿元,总负债127.92亿元,资产负债率为71.56%,在闻旅统计的同期17家省级文旅团体中(有公开数据可查)高居Top5之列,仅次于居江西旅游团体(83.9%)、陕西旅游团体(79.84%)、天津旅发团体(77.5%,制止2021年三季度末)和广西旅发团体(72.1%)。 至于经业务绩,2021年,重庆旅投业务总收入为14.31亿元,净利润为0.19亿元。只管较2020年实现扭亏为盈,但需指出的是,2021年重庆旅投投资收益对利润贡献很大(5.84亿元),重要系受山水公司由控股变成参股公司、仁义在线等4家非核心子公司出表贡献。 泉源《重庆旅游投资团体有限公司2022年度跟踪评级陈诉》 详细到核心的文旅业务,包罗景区、旅店、游轮和观光社在内,其业绩均出现显着下滑,此中景区业务受打击相对最旅店、游轮业务次之,观光社业务遭受打击最为剧烈。 景区方面,制止2022年3月末,重庆旅投拥有重要景区4个,包罗1个国家5A级旅游景区和3个国家4A级旅游景区,景区业务收入重要来自于景区门票收入,尚有餐饮娱乐、游客运输、索道等收入。2021年,剔除金佛山、神龙峡景区(不再控股),重庆旅投旗下重要景区欢迎旅游人数较客岁同期增长59.06%至262.45万人次,规复至2019年同期的69.99%;景区门票收入同比增长54.02%,规复至2019年同期的82.21%。 泉源《重庆旅游投资团体有限公司2022年度跟踪评级陈诉》 旅店谋划方面,制止2022年3月末,公司在运营旅店8家,此中五星级旅店2家、四星级旅店4家,客房个数共计1907间。公司运营旅店数目较上年末淘汰4家,重庆旅投旅店业务收入较为依靠JW万豪旅店和两江沐日旅店,2021年,公司团体旅店入住率有所改善,当年旅店收入同比增长6.31%至 2.19亿元,规复至疫情前(2019年为3.29亿元)的60%以上。 泉源《重庆旅游投资团体有限公司2022年度跟踪评级陈诉》 游轮方面,现在重庆旅投运营7艘“长江黄金”系列五星级游轮,公司游轮业务收入重要泉源于船票贩卖、餐饮娱乐和景点 门票,且以船票收入占比最高。受疫情反复影响,2021年旗卑鄙轮欢迎游客数进一步下滑,同比降落9.19%至8.50万人(2019年为17.1万人次),但公司通过提供餐食和夜景活动丰富旅游产物范例,整年收入同比增长185.71%至1.60亿元, 规复至疫情前(2019年为3.66亿元)的40%左右。 观光社板块,重庆阳光国际观光社有限公司和重庆渝之旅国际观光社有限公司是重庆旅投观光社业务重要谋划平台,且境外游占比约一半,2020年以来境外游根本停滞。2021年,在国内游的动员下, 其观光社业务实现业务收入1.95亿元,同比增长8.94%,仅为疫情前(2019年为7.43亿元)的25%。 为对冲疫情造成的影响,2021年以来,重庆旅投继承享有政府及股东在资金和资源协划一方面的有力支持。2021年,重庆市财政局拨付重庆旅投市级国有资源谋划预算资金2亿元,控股股东重庆渝富控股完成对公司债转股1.84亿元,增强了公司的资源力气。 只管云云,但表里挑衅交错下,重庆旅投压力仍然高企。制止2022年3月末,重庆旅投总债务和短期债务分别为103.96亿元和29.88亿元, 且2023年到期或大概回售的债券金额合计33亿元,面对大额债券会合到期压力;而同期重庆旅投钱币资金和谋划活动净现金流分别为5.01亿元和-0.17亿元,已无法覆盖短期债务。 据此中诚信国际以为,因景区运营等主业连续亏损、核心资产划出导致公司主业务务竞争力大幅下滑、股东支持力度显着减弱、债务规模连续增长、外部融资情况显着恶化、偿债压力进一步加大等缘故原由,重庆旅投名誉水平在未来12~18个月内大概降落。 与这一评级猜测“相向而行”的,是来自上交所公司债券项目信息平台的一则项目更新信息,重庆旅投于2021年3月25日获上交所受理的20亿元私募债券,项目状态已于2021年8月27日更新为制止。且至今再未见上交所受理重庆旅投发行的新的私募债券。 泉源上交所 04遭华侨城“放鸽子”?省级文旅团体排位或将重调重庆旅投的债务压力并非新事,早在2018年,重庆旅投就因未充实披露净资产大幅降落的庞大财政倒霉题目,受到中国银行间市场买卖业务商协会自律处分。 2018年8月17日,中国银行间市场买卖业务商协会官网发布了买卖业务商协会自律处分信息。重庆旅投在“17重庆旅投MTN002”“17重庆旅投CP001”干系债务融资工具发行前,未增补披露2017年半年末净资产同比降落凌驾10%的庞大财政倒霉变革并转达协会注册办公室,上述举动违反了银行间干系自律规则指引。依据干系自律规定,经2018年第9次自律处分聚会会议审议,给予重庆旅投诫勉发言处分,责令其针对本次事故中袒暴露的题目举行全面深入的整改。 泉源中国银行间市场买卖业务商协会官网 而疫情的暴击,刺激重庆旅投对旗下子公司股权转让/混改进程显着提速。 2021年11月5日,重庆旅投景典房地产开辟有限公司挂牌转让其所持有的重庆景典凰城地产有限公司100%股权,底价为20457.46万元,转让方为信息披露竣事日期至2021年11月12日。制止2021年9月30日,标的公司总资产20648.04万元。据评估陈诉,重庆渝富团体同意重庆旅投以2020年12月15日为基准日,将重庆旅投部属重庆旅投景典房地产开辟有限公司所持大足1351-2、1351-3号地皮利用权已无偿划转至标的企业。 2021年12月,重庆旅投旗下(持股74.7%)重庆统景旅游开辟有限公司(以下简称“重庆统景旅游”)启动增资,拟公开召募资金不低于35433万元,公开召募资金对应持股比例为60%,根据挂牌信息,2020年,重庆统景旅游净亏损6521万元,制止2021年11月25日,重庆统景旅游净利润为-5645.04万元,资产总额为115693.67万元,负债率近88%。 就在此前的8月,深圳华侨城股份有限公司与重庆旅投、重庆统景旅游签下意向协议,称将筹划投入80亿元,按照国家5A级景区标准对统景温泉旅游度假区举行升级打造,将统景打造为重庆第7张都会手刺,成为符合直辖市职位的国际着名温泉度假区。2022年2月15日,重庆市渝北政府官网公布了渝北区2022年重点项目创建名单,统景国际温泉度假区作为新开工项目赫然在列。 只管巨额亏损/债务高企凸显重庆旅投仍需进阶的运营本领,但对于此次华侨城疑将加入“混改”,有业者曾对闻旅做过积极分析,其以为,联合统景温泉占据的资源天禀、区位、项目体量和政策扶持力度4大比力上风,重庆旅投团体若能借华侨城加入混改产生的“鲶鱼效应”,或可乐成盘活这一不良资产。 假想虽优美,但回归现实,三方签订意向协议距今已时过1年半,重庆统景旅游股权布局中始终没能看到华侨城的身影。而大概是意识到混改借势需以“规范化”为条件,重庆旅投随后发布系列针对性的雇用信息,以期完满公司管理、低沉决定风险、强化团体资源运作本领。 泉源重庆旅投官网 2022年4月,重庆旅投对外公开雇用公告,雇用投资中心资源运作岗2名,重要负责拟制团体资源运作规划;订定团体或所属企业的子公司的并购重组、资产处理等详细方案;负责资源运作方案的构造实行;负责企业上市的详细推进等干系工作等。 2022年9月,重庆旅投雇用团体总法律顾问1名,工作职责包罗全面负责企业风险管理、法律事件、合规管理、内控管理工作,创建健全并向导企业法律事件机构,同一调和处理处罚企业决定、谋划和管理中的风控、法律、合规、内控事件,有用服务党委会、董事会、谋划管理层,保障团体正当合规谋划发展;2、加入团体庞大谋划决定,列席党委会、董事会有关聚会会议,对涉及法律题目的事项提出法律意见,对干系法律风险提出防范意见,包管决定的正当合规性等。 透视此次低调牵手的光大信托,其控股股东广西团体在文旅业的布局业界周知。2018年年初,中国青旅团体公司(另一为中国青年实业发展总公司)100%国有产权划转至光大团体,列入光大团体一级直属企业序列。在光大团体对其睁开大刀阔斧的改革后,中青旅随后进入凌驾式发展通道,包罗总资产、净资产、营收等在内的重要经济指标较光大团体接办前多显着提升。 聚焦重庆国资旅企,以南川东街项目为代表,早在疫情之前中青旅已经睁开相助试水。该项目位于重庆南川区老城中心,占地面积约120亩,总投资约23亿元,由重庆市南川区都会创建投资(团体)有限公司打造,中青旅加入运营,是南川区探索“棚改+产业”创建路径、引客入城的核心项目。据官方报道,东街项目自开街以来累计欢迎游客超1210.8万人次,动员南川餐饮留宿业增长72.58%。 以此为根本,此次重庆旅投通过引入光大证券加入混改,间接与光大团体实现资源联姻。借助光大团体文旅板块的协同/赋能,接下来重庆旅投会开辟怎样的破局路径,各省级文旅团体间的座次排位又将怎样演变?闻旅也将保持关注。 |

专注IT众包服务
平台只专注IT众包,服务数 十万用户,快速解决需求

资金安全
交易资金托管平台,保障资 金安全,确认完成再付款

实力商家
优秀软件人才汇集,实力服务商入驻,高效解决需求

全程监管
交易过程中产生纠纷,官方100%介入受理,交易无忧

微信访问
手机APP