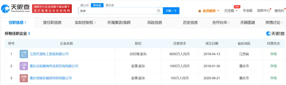
5月11日上午,张波、叶诚尘故意杀人案(重庆姐弟坠亡案)二审宣判,重庆市高级人民法院裁定驳回上诉,维持原判,并对二人的极刑裁定依法报请最高人民法院答应。据报道,涉案者张波、叶诚尘分别在重庆创驰非融资包管有限公司、重庆顺泰食品有限公司持股并有任职。 天眼查App体现,张波关联的3家公司均为存续状态,包罗重庆创驰非融资包管公司、江西开源化工贸易有限公司、重庆众焰慧商务信息咨询有限公司,张波在3家公司的持股比例分别为49%、30%、49.5%。除在江西开源化工贸易有限公司担当总司理外,张波还在别的2家公司中担当监事。 叶诚尘关联公司重庆顺泰食品有限公司创建于2011年1月,注册资源50万人民币,由叶建平、张玉平、叶诚尘共同持股,此中,叶诚尘持股20%。变更记载体现,2021年1月,该公司法定代表人由叶诚尘变更为张玉群。别的,该公司曾申请多个发明专利,发明人均为叶诚尘。 潇湘晨报综合 |

专注IT众包服务
平台只专注IT众包,服务数 十万用户,快速解决需求

资金安全
交易资金托管平台,保障资 金安全,确认完成再付款

实力商家
优秀软件人才汇集,实力服务商入驻,高效解决需求

全程监管
交易过程中产生纠纷,官方100%介入受理,交易无忧

微信访问
手机APP
关于我们|广告合作|联系我们|隐私条款|免责声明| 时代威客网
( 闽ICP备20007337号 ) |网站地图
Copyright 2019-2024 www.eravik.com 版权所有 All rights reserved.


