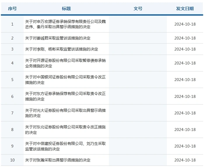
中新经纬10月18日电 18日晚间,证监会一连点名11家券商,涉及16位责任人。 证监会网站截图 申万宏源证券承销保荐有限责任公司、魏忠伟、秦丹 经查,证监会发现申万宏源证券承销保荐有限责任公司及魏忠伟、秦丹在保荐西藏国策环保股份有限公司(以下称西藏国策)初次公开辟行股票并上市过程中,项目负责人魏忠伟、保荐代表人秦丹未经公司同意,从事违反公司与西藏国策签署的保荐协议的活动。项目组职员上述违规活动,反映出申万宏源证券承销保荐有限责任公司未能严酷规范从业职员执业活动、督促从业职员勤勉尽责。 证监会称,上述环境违反《证券行业诚信准则》第十四条、《证券发行上市保荐业务管理办法》第五条及《证券公司和证券投资基金管理公司合规管理办法》第六条的规定。按照相干规定,证监会决定对上述公司及职员采取出具警示函的监督管理步伐。 海通证券股份有限公司、姜诚君 经查,证监会发现海通证券股份有限公司在部门项目中履职尽责不到位;投行立项环节把关不严;质控、内核核查把关不严;投行业务信息管理体系建设不美满。上述环境违反《证券公司和证券投资基金管理公司合规管理办法》(下称《合规管理办法》)第六条的规定。 根据《合规管理办法》第三十二条,证监会决定对该公司采取责令改正的行政监督管理步伐。 别的,姜诚君作为分管投行业务高管,对相干违规活动负有责任。按照《合规管理办法》第三十二条的规定,证监会决定对姜诚君采取羁系发言的行政羁系步伐。 开源证券股份有限公司、李刚、杨彬 经查,证监会发现开源证券股份有限公司存在以下违规活动:一是在个别公司债券项目中未勤勉尽责,导致召募分析书中存在误导性报告。二是在承销多项绿色债券时未审慎核查把关,造成债券发行人依托虚伪、无收益或有明确资金泉源且即将建成等项目违规融资、重复融资,约定用于绿色项目的资金被挪为他用。三是在多个投行项目中质控核查把关不严。 按照相干规定,证监会决定对开源证券股份有限公司在2024年10月17日至2025年4月16日期间,停息债券承销业务。 证监会还称,李刚作为总司理、杨彬作为时任分管债券业务公司高管,对相干违规活动负有责任,按照《合规管理办法》第三十二条的规定,决定对两人采取羁系发言的行政羁系步伐。 中国银河证券股份有限公司、韩志谦 经查,证监会发现该公司在部门项目中未勤勉尽责;未辨认出个别项目非市场化发行;个别项目债券发行结果公告未披露银河证券认购债券环境;个别员工通过他人代领年末奖金躲避缴纳税款;薪酬递延付出实行不到位;质控、内核核查把关不严;对子公司耿介从业管理不到位;部门项目约请第三方中介机构信息披露不到位等。 按照相干规定,证监会决定对该公司采取责令改正的行政监督管理步伐。 证监会还体现,经查发现,中国银河证券股份有限公司在个别项目中未勤勉尽责,个别项目债券发行结果公告未披露银河证券认购债券环境等,违反《公司债券发行与生意业务管理办法》(以下简称《债券办法》)第六条、第五十八条的规定。韩志谦作为时任分管债券业务投行委副主任,对相干题目负有责任。按照规定,证监会决定对韩志谦采取出具警示函的行政监督管理步伐。 东方证券承销保荐有限公司、张瀚 经查,证监会发现该公司存在部门项目质控和内核职员交织混同、部门项目质控现场核查、内核把关不到位、部门项目约请第三方信息披露不规范等题目。 按照相干规定,证监会决定对该公司采取责令改正的行政监督管理步伐。 证监会还提到,张瀚作为质控负责人,对相干题目负有责任。按照《保荐办法》第六十四条的规定,证监会决定对张瀚采取出具警示函的行政监督管理步伐。 光大证券股份有限公司 经查,证监会发现该公司存在部门项目质控对项目风险、尽调稿本把关不严,内核意见跟踪落实不到位,部门项目发行保荐工作报告未完备披露内控关注题目。 依据《证券公司和证券投资基金管理公司合规管理办法》第三十二条,证监会决定对该公司采取出具警示函的行政监督管理步伐。 东北证券股份有限公司、梁化军、王铁铭、王爱宾 经查,证监会发现该公司存在质控、内核意见跟踪落实不到位、部门项目质控稿本验收把关不严、未创建美满对外报送文件核查把关机制、个别项目持续督导未勤勉尽责等题目。 按照相干规定,证监会决定对该公司采取责令改正的行政监督管理步伐。 证监会以为,梁化军作为时任分管投行业务高管,王铁铭作为时任质控部门负责人,王爱宾作为时任内核负责人,对上述题目负有责任。按照《合规管理办法》第三十二条的规定,证监会决定对上述三人采取出具警示函的行政监督管理步伐。 中信建投证券股份有限公司、刘乃生、贾新 经查,证监会发现中信建投证券股份有限公司(下称中信建投)在部门项目中尽职观察不充实;未有效督促发行人做好召募资金专户管理;内核未充实关注项目风险;对外披露招股分析书实质修改后内控未再次审批等,违反《证券公司和证券投资基金管理公司合规管理办法》(以下简称《合规管理办法》)第六条的规定。刘乃生作为分管投行业务高管,对上述题目负有责任。 按照相干规定,证监会决定对中信建投、刘乃生采取羁系发言的行政羁系步伐。 证监会还提到,经查发现,中信建投存在质控未对部家声险及异常生意业务环境、项目稿本缺失或不全等环境充实关注,质控环节对财务数据异常及审批把关不严等,违反《证券公司和证券投资基金管理公司合规管理办法》第六条的规定。贾新作为时任质控部负责人,对上述题目负有责任。按照规定,证监会决定对贾新采取出具警示函的行政监督管理步伐。 兴业证券股份有限公司 经查,证监会发现该公司存在部门项目发行保荐报告未完备披露立项、质控、内核审查题目、薪酬考核制度计划不公道等题目,上述环境违反《证券公司投资银行类业务内部控制指引》第四条、第二十八条的规定。 按照《证券公司和证券投资基金管理公司合规管理办法》第三十二条的规定,证监会决定对该公司采取出具警示函的行政监督管理步伐。 中航证券有限公司、陈静、吴永平 经查,证监会发现该公司存在质控负责人同时到场项目承做、质控验收不到位、部门项目内核意见跟踪落实不到位等题目。上述环境违反《证券公司投资银行类业务内部控制指引》第三十二条、第三十四条、第五十七条、第六十一条等规定。 按照《证券公司和证券投资基金管理公司合规管理办法》第三十二条的规定,证监会决定对该公司采取责令改正的行政监督管理步伐。 证监会以为,陈静作为时任质控负责人,吴永平作为时任内核负责人,对上述题目负有责任。按照规定,证监会决定对两人采取出具警示函的行政监督管理步伐。 中原证券股份有限公司、李昭欣、花金钟 经查,证监会发现该公司存在以下违规活动:一是资助债券发行人与投资者签署债券咨询服务协议,以给予票面利息补差费用的情势非市场化发债。二是在个别公司债券项目中,对发行人偿债能力核查不充实,未发现发行人存在融资租赁条约违约事项且被法院裁定为被实行人。三是在个别项目持续督导期间未勤勉尽责,未发现发行人财务造假事项。四是原质控部门负责人领取项目承揽奖同时到场质控相干工作,质控稿本验收把关不到位等。 按照相干规定,证监会决定对该公司在2024年10月17日至2025年4月16日期间,停息债券承销业务。 证监会还提到,李昭欣作为总司理、花金钟作为时任分管投行业务高管,对相干违规活动负有责任,按照规定,证监会决定对两人采取羁系发言的行政羁系步伐。(中新经纬APP) |

专注IT众包服务
平台只专注IT众包,服务数 十万用户,快速解决需求

资金安全
交易资金托管平台,保障资 金安全,确认完成再付款

实力商家
优秀软件人才汇集,实力服务商入驻,高效解决需求

全程监管
交易过程中产生纠纷,官方100%介入受理,交易无忧

微信访问
手机APP
关于我们|广告合作|联系我们|隐私条款|免责声明| 时代威客网
( 闽ICP备20007337号 ) |网站地图
Copyright 2019-2024 www.eravik.com 版权所有 All rights reserved.


