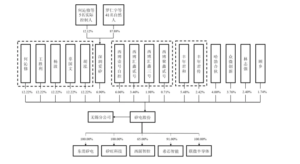
来源:直通IPO 3月24日,中国大陆规模最大的探针台装备制造企业矽电股份正式登岸创业板,成为国产探针台范畴首家上市公司。 上市首日,矽电股份高开244%,股价盘中一度迫近190元。制止收盘,矽电股份报157.93元/股,涨202.08%,市值超65.9亿元。 此次IPO,矽电股份发行价为52.28元,发行1043.18万股,召募资金总额为5.45亿元,扣除发行费用后的召募资金净额为4.64亿元。召募资金将用于探针台研发及产业基地建立项目、分选机技术研发项目、营销服务网络升级建立项目以及增补活动资金。 厚交所官网信息体现,矽电股份于2022年6月递交招股书,冲刺期间颇为妨害。IPO申请获受理的两个月后,由于保荐机构招商证券被中国证监会存案观察,导致其IPO历程被迫中止。 2023年4月,矽电股份顺遂过会,但在提交注册环节却僵持了21个月。这期间,矽电股份的申报会计师天职国际又被停息证券业务,其IPO再度被中止。直到本年1月份,矽电股份IPO历程才规复。 招股书体现,矽电股份建立于2003年,重要从事半导体专用装备的研发、生产和贩卖,专注于半导体探针测试技术范畴,系境内领先的探针测试技术系列装备制造企业。 据CSA Research研究陈诉,2019年矽电股份在中国探针台市场的占据率为13%,排名第四。2019年至2023年,矽电股份在中国探针台市场的占据率从13%跃升至25.7%。 在已往,探针台装备长期处于被东京电子、东京精密等日系厂商把持的局面,如今,矽电股份的市场份额不停渗出,突破了国外厂商的把持,在12英寸探针台细分市场,矽电股份市占率已达18.6%,位居国产厂商首位。 业绩方面,2021 年、2022年、2023 年及 2024 年上半年,矽电股份业务收入分别为 3.99 亿元、4.42 亿元、5.46 亿元及 2.88 亿元;净利润分别为 9603.97 万元、1.14 亿元、8933.20 万元及 5625.92 万元。 矽电股份高速发展的背后,是公司团队二十余年的厚积薄发。据悉,矽电股份重要创始人均为半导体行业的资深专家。招股书体现,公司董事长何沁修、总司理王胜利分别出生于 1964 年、1965 年,二人均结业于电子科技大学,随后共同入职电子部第八七一厂,一个是技术员,一个是车间副主任。80 年代末至 90 年代初,何沁修、王胜利二人先后南下深圳,辗转多家半导体行业企业任职,王胜利在深圳市深爱半导体有限公司任职期间,结识了杨波和辜国文。 2003 年 12 月,何沁修、王胜利、杨波、辜国文四人在深圳开启创业,次年 8 月,胡泓参加团队。在股权布局上,何沁修、王胜利、杨波、辜国文、胡泓通过直接和间接持股合计控制公司67.99%的表决权实现对公司的控制。值得留意的是,创始团队人持股比例险些划一,五人一起为公司控股股东、实际控制人,且直接持股比例均为12.22%,并通过担当员工持股平台深圳爱矽的平凡合资人控制公司6.90%的表决权。 在递表厚交所前夕,由华为全资控股的哈勃合资,通过受让何沁修、杨波、王胜利、辜国文、胡泓、深圳爱矽所持公司 4% 股份突击入股,创始团队的股权转让价款合计 8000 万元。 别的,矽电股份还得到来自客户的入股。此中,持有公司2.4%股权的股东林志强,是三安光电的董事长;持有公司1.74%股权的股东顾乡的父亲顾伟兆驰股份的实控人。而三安光电和兆驰股份是矽电股份的两家大客户。 随着矽电股份的顺遂IPO,五位半导体老兵在创业二十多年后,实现了属于他们的第一个IPO。 |

专注IT众包服务
平台只专注IT众包,服务数 十万用户,快速解决需求

资金安全
交易资金托管平台,保障资 金安全,确认完成再付款

实力商家
优秀软件人才汇集,实力服务商入驻,高效解决需求

全程监管
交易过程中产生纠纷,官方100%介入受理,交易无忧

微信访问
手机APP
关于我们|广告合作|联系我们|隐私条款|免责声明| 时代威客网
( 闽ICP备20007337号 ) |网站地图
Copyright 2019-2024 www.eravik.com 版权所有 All rights reserved.


