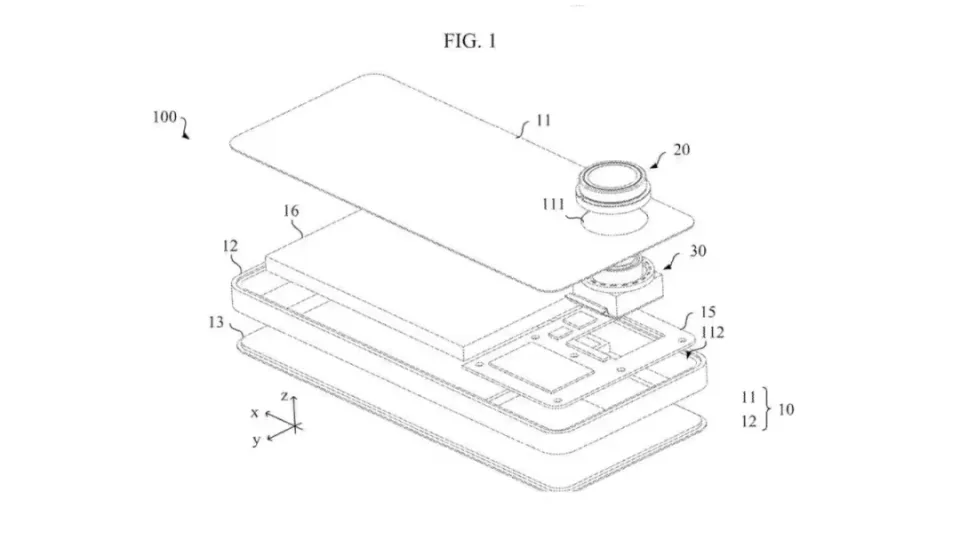
时间带来到了4月中旬,华为的影像旗舰Pura系列将迎来更新,如今有关新品的爆料正在逐步释出,一起来看看。 小编在前几天的文章中提到过,近两年大家对于手机的握持手感、浮滑的要求越来越高,不少小搭档对越来越大、越来越高的镜头模组越来越不满,就迫使各家厂商都开始从多个方向改善自家影像旗舰的握持手感。 而据之前的先容,不少厂商想出的办法就是采用外挂镜头的筹划,带来更佳的影像体现。 而华为就差别了,华为更专注于镜头伸缩。根据近期华为的新专利表现,华为的潜望镜头也能伸缩了。 据相关媒体报道称,华为最新专利提出了创新办理方案,可镌汰镜头凸动身度。联合多家媒体爆料分析称,新方案大概在华为Pura 80系列中率先搭载。 (图片来自91mobile) 该方案提出通过驱动电机移动相机组件,调整其与图像传感器之间的隔断,从而提升长焦镜头的变焦性能。它采用了双齿轮传动体系,镜头移动精度能控制在0.01毫米级,配合磁吸式锁止结构,拍照时镜头主动弹出,平常可完全收纳进机身。 (图片来自91mobile) 相比之下,之前的潜望式镜头想要达到类似的效果,需利用棱镜和镜面,这也是使得如今大多数影像旗舰的镜头模组又厚又大的原因之一。 在这个方案应用后,纵然是影像旗舰也能有较小的镜头凸起,带来更好的手感。 那有的小搭档就问了,之前华为Pura 70 Ultra不是就有镜头伸缩吗?这次新的有什么差别呢? 华为Pura 70 Ultra确实已经采用了可伸缩镜头,但是为主摄的镜头可伸缩,而这次的新方案是潜望镜头可伸缩,以是镜头用法和技能不太类似,至于后续能否两个镜头同时可伸缩还没有确切消息出现。 本周另有关于华为Pura 80系列屏幕的消息出现。 据博主@数码闲聊站 发文称,华为开始大量评估2.5D直屏,引入全新边框封装工艺,在旗舰产物线别的新开6.74英寸1.5K分辨率面板及6.85英寸1.5K面板。 联合之前的爆料,华为Pura 80标准版或采用1.5K直屏,顶配版Pura 80 Ultra或将采用1.5K全等深四微曲屏幕。也就是说,这块新直屏预计会搭载在标准版上,Ultra 版大概会通过双层 OLED 拉开与 Pro 版本做区分。 综合现在的消息来看,新机的配置已经较为清楚了。 按照博主@厂长是关同砚 的近期爆料来看,全新的Pura 80系列芯片还是麒麟9020,只是这次是优化版的。与华为Pura X类似,采用了新的3D封装工艺,将SoC和运存集成在一起,有助于低落通讯耽误和总体功耗。 影像方面,华为Pura 80 Ultra工程机配备国产自研1英寸超大底主摄,还配备1/1.3英寸超大底潜望长焦,主摄和潜望长焦均采用RYYB色彩阵列,均支持可变光圈。 华为Pura 80 Pro则将配备一英寸主摄和5000万像素左右的的小底潜望镜头;华为Pura 80标准版或将配备1/1.3"主摄和1200万像素小底潜望镜头。 发布时间方面,爆料称华为Pura 80系列有大概会在5-6月正式发布上市。也有博主称,Pura80系列马上就要测试收尾了而且进行财产链备货了。 博主@数码闲聊站 还表现,Pura80系列现在工程机用料挺足,听说是华为本年旗舰线的出货重心,定价相较于前代会更公道。 可以预见的是,这场发布会会有很高的热度,不光是在于将会发布影像旗舰华为Pura 80系列,另有此前官宣的鸿蒙平板和鸿蒙PC,而且屏幕都是16:10比例,搭载原生鸿蒙的装备数目也将快速增长,感爱好的小搭档可以等待一下。 |

专注IT众包服务
平台只专注IT众包,服务数 十万用户,快速解决需求

资金安全
交易资金托管平台,保障资 金安全,确认完成再付款

实力商家
优秀软件人才汇集,实力服务商入驻,高效解决需求

全程监管
交易过程中产生纠纷,官方100%介入受理,交易无忧

微信访问
手机APP
关于我们|广告合作|联系我们|隐私条款|免责声明| 时代威客网
( 闽ICP备20007337号 ) |网站地图
Copyright 2019-2024 www.eravik.com 版权所有 All rights reserved.


