本文泉源:期间财经
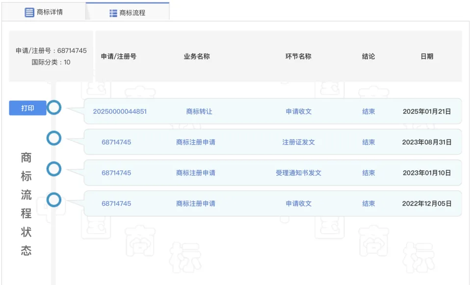
2月11日,国家知识产权局商标局官网显示,杭州娃哈哈团体有限公司(下称“娃哈哈团体”)正在对“娃哈哈”商标举行转让,现在“申请收文”环节已竣事,申请日期为2025年1月21日,而商标的受让主体未显示。
据浙江日报潮消息记者向娃哈哈团体相关人员举行求证,回应称公司正在就此事举行内部沟通。 天眼查等平台显示,娃哈哈团体拥有超过1100项注册商标,此中包括家喻户晓的“娃哈哈”系列商标。娃哈哈团体系“娃哈哈”系列商标的全部权人,商标也是娃哈哈团体最紧张的筹谋性资产之一。 根据国际品牌代价评估机构GYBrand发布的2024中国最具代价品牌500强排行榜,娃哈哈(食品饮料)品牌位列第95位,品牌代价高达911.87亿元。 2024年年初,娃哈哈团体首创人、董事长宗庆后因病逝世,其女宗馥莉正式接棒,并渐渐接办宗庆后名下多家公司。但宗馥莉接过权杖后,娃哈哈团体内部暗流涌动,风波不绝。 娃哈哈团体员工维权联结委员会称,宗馥莉控制的宏胜团体部属多家公司存在未经娃哈哈团体允许,擅自委外加工“娃哈哈”系列品牌产物的举动。 比方,宏胜团体于2021年4月设立的杭州宏诚食品饮料有限公司,以及于2024年6月设立的宿迁恒枫饮料有限公司等公司对外委托加工“娃哈哈”系列纯净水及营养快线等焦点产物,并在委托加工条约中明确表现“娃哈哈”商标是属于上述公司的知识产权。 按照商标法的规定,这一举动或侵占注册商标专用权:“未经商标注册人的允许,在同一种商品上利用与其注册商标类似的商标”。此外,在瓶身标注虚假委托方的举动,或构成《反不合法竞争法》第八条规定的虚假宣传举动,甚至涉嫌《刑法》冒充注册商标罪。 于是在2024年7月,娃哈哈团体某员工发布举报信,直指宗馥莉侵占巨额国有资产,娃哈哈团体正式陷入舆论的漩涡之中。 此后,宗馥莉公开辞任,而后又在重重压力之下接过了娃哈哈董事长的职权。但一个月之后,新一轮的员工维权海潮再次席卷而来。 据《财新》报道,2024年8月,娃哈哈员工因报酬、股权等标题构造维权,甚至有数十名员工向法院提起了诉讼。 一个月后,娃哈哈否认相关听说。2024年9月7日,娃哈哈官方发布声明称,“娃哈哈维权委员会诉讼维权”“要求员工重新签署劳动条约”等说法均为不实信息。 娃哈哈还表现,公司职工持股会内部股份回购不存在侵害持股会会员的情况。同时,宗馥莉持股的杭州萧山顺发食品包装有限公司股权转让合法有效,并无外界臆测特别缘故原由。 2024年9月18日,宗馥莉召开她正式接任董事长后初次职工代表大会。会上,针对外界听说娃哈哈将要取消分红、低落薪酬的听说,宗馥莉回应称:“娃哈哈本年干股分红不会取消、薪资布局没有厘革。但分红将基于个人的岗位绩效,而非仅凭过往的资历或级别来分配。” 娃哈哈所在的包装饮用水赛道竞争猛烈。自宗庆后逝世后,娃哈哈瓶装水销量一度暴涨。娃哈哈强敌、红瓶天然水“一哥”农夫山泉随即出招,在去年4月切入纯净水赛道,在终端大量铺货绿瓶纯净水。包装饮用水代价战随即开打,从原来的2-3元下探至1元以下。 同年11月尾,驰骋纯净水市场28年的娃哈哈重启绿瓶矿泉水业务,在KA大卖场铺货。 根据娃哈哈竞争者之一怡宝的招股说明书,2023年中国包装饮用水市场前五大公司中,娃哈哈包装饮用水的零售总额(非业务收入)为120亿元,农夫山泉507亿元,怡宝396亿元、百岁山132亿元。 有分析师认为,现阶段的饮用水市场竞争尚未分出胜负,未来还得再“打仗”。 (期间财经幸雯雯综合自界面消息、钛媒体、南方都市报、观察者网等) |

专注IT众包服务
平台只专注IT众包,服务数 十万用户,快速解决需求

资金安全
交易资金托管平台,保障资 金安全,确认完成再付款

实力商家
优秀软件人才汇集,实力服务商入驻,高效解决需求

全程监管
交易过程中产生纠纷,官方100%介入受理,交易无忧

微信访问
手机APP
关于我们|广告合作|联系我们|隐私条款|免责声明| 时代威客网
( 闽ICP备20007337号 ) |网站地图
Copyright 2019-2024 www.eravik.com 版权所有 All rights reserved.


