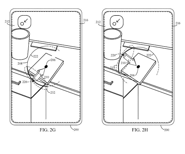
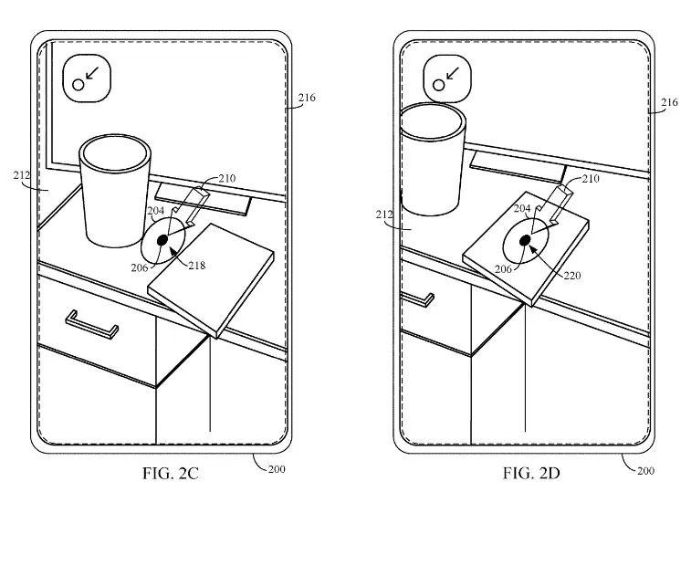
检察引用/信息源请点击:映维网Nweon 放置捏造解释 (映维网Nweon2022年10月21日)AR增强现实可以将捏造数字图形叠加到现实天下视图,从而天生仿佛捏造和真实共存的沉醉式技能。比方,叠加捏造数字解释是一种常见的用例,比方说提供茶杯的生产厂商和代价等信息,在视场可视化舆图导航等等。这里的一个标题是,怎样放置捏造解释。 在名为“Systems and methods for placing annotations in an augmented reality environment using a center-locked interface”的专利申请中,微软就提出了一种使用中心锁定界面在增强现实环境中放置解释的体系和方法。 传统技能支持“点击放置”模式:用户可以点击屏幕的任何位置,并在点击屏幕的位置放置解释。但在这个过程中,当用户实验放置解释时,屏幕会被用户的手指遮挡,从而导致解释偶尔中放置在不必要的位置。 对于微软形貌的方法,用户图形界面 GUI表现一个中心GUI元素,所述元素相对于盘算机装备表现环境中心锁定。中心GUI元素与中心GUI元素地点环境的检测外貌共面。解释可以是三维箭头。检察环境时,将向用户表现指向中心GUI元素的三维箭头的预览。提供用户输入后,箭头将放置在检测到的外貌之上。用户可以提供额外的输入,在放置箭头之前,围绕中心GUI元素旋转三维箭头。 通过以上形貌的方式,中心GUI元素可以提供更正确的解释体验,由于用户可以看到解释的正确位置。 由于专利形貌的技能允许在其装备屏幕的中心放置解释,因此用户必须移动其装备,以便在其预期位置放置解释。装备的额外移动会导致装备捕获更多关于用户环境的可视数据。视觉数据用于映射用户环境,并确定用于检测用户环境中的曲面的特性点。得到的视觉数据越多,曲面检测和注开释置就越正确。 在一个实验例中,解释引擎102设置为提供叠加在实时视图112的GUI 114,使用户可以大概在通过实时视图112出现的环境中放置捏造的三维解释,从而提供增强的现实体验。 三维解释可以放置在解释引擎102提供的三维捏造覆盖空间116内。三维捏造覆盖空间116可以包罗覆盖在实时视图112的透明层,通过所述透明层,用户可以在此中的各个位置放置三维解释。 比方,解释引擎102可以出现锁定在实时视图112中心的中心GUI元素。当用户在用户环境中移动盘算装备100时,中心GUI元素保持锁定在实时检察112中心。因此,无论通过实时视图112表现什么,中心GUI元素都保持在实时视图112的中心。 根据一个实验例,中心GUI组件可以是圆形十字线。圆形十字线可以包罗位于中心的十字线点。十字线点体现解释可以放置在三维捏造覆盖空间116内的位置。根据另一个实验例,中心GUI元素可以包罗另一个外形,比方但不限于矩形、三角形、多边形等。 在一个实验例中,中心GUI元素可以与在靠近实时视图112中心的环境中检测到的外貌共面。比方,当用户在用户的环境中移动摄像头106时,解释引擎102可以一连检测到位于靠近实时视图112中心的外貌。检测到如许的外貌后,解释引擎112可以渲染中心GUI元素,使得其与所述外貌共面。 解释是一个三维箭头。三维箭头最初大概表现在三维捏造空间116中的固定或锁定位置,而捏造空间叠加在实时视图112之上。三维箭头大概是单向的,此中箭头指向中心GUI元素的中心。比方,三维箭头大概指向中心GUI元素的十字线点。 三维箭头最初大概是半透明,以便用户可以检察三维箭头反面的环境。三维箭头的巨细可以基于检测到的外貌和摄像头106之间的隔断。比方,检测到的隔断越远,三维箭头的尺寸越小。相反,检测到的隔断越近,三维箭头的巨细越大。 用户可以通过提供用户输入将三维箭头放置在检测到的外貌之上。比方,用户可以通过表现器108提供触碰输入(比方轻触),这使得三维箭头锚定到三维捏造叠加空间116中与检测到的外貌相对应的位置。在放置三维箭头时,解释引擎102可以出现不透明的三维箭头。 比方,图2A表现的图形界面用于将注开释置在三维捏造空间216中的第一个位置。图2A中表现了智能手机200的表现器。 如图2A所示,智能手机200的表现器表现由智能手机200摄像头检测到的环境或场景的实时视图212。实时视图121是实时视图112的示例。摄像头可以位于智能手机200的一侧,与智能手机200表现器(如图2A所示)地点的一侧相对。 如图2A中进一步所示,GUI元素202可以在实时视图212出现。GUI组件202可以是解释引擎102提供的GUI 114的一部分(如图1所示)。 当激活时,GUI元素202可以启动解释模式,并允许用户通过三维捏造叠加空间216在实时视图212放置捏造解释。三维捏造重叠空间216是三维捏造叠加空间116的一个示例,如图1所示。可以通过通过用户界面104汲取的用户输入激活GUI元素202。 图2B示出了根据示例实验例激活解释模式时通过智能手机200表现的图形界面。如图2B所示,相应于激活GUI元素202,解释引擎102在三维捏造叠加空间216中渲染中心GUI元素204。中心GUI元素205在实况视图212的中心渲染并保持锁定。 如图2B所示,解释引擎02渲染位于中心GUI元素206中的十字线点206。如图2B所示,中心GUI元素204和十字线点206都与实时视图212中的解释引擎102检测到的外貌208共面。 如图2B所示,解释引擎102在三维捏造叠加空间216中的第一位置出现三维箭头210。三维箭头210指向中心GUI元素204的中心。在图2B所示的示例中,中心GUI元素205的中心包罗十字线点206。相应地,三维箭头210朝向十字线点208。如图2B中所示,三维箭头210为半透明。因此,用户可以看到三维箭头210反面的对象。 如图2C和2D所示,当用户移动摄像头106并将摄像头106指向环境中的其他对象时,中心GUI元素206、十字线点208和三维箭头210相对于实时视图212保持中心锁定。在图中所示的示例中,用户正在向右平移摄像头106。 如图2C所示,中心GUI元素204和十字线点206如今位于检测到的外貌218上方,所述外貌与图2B中的外貌208具有差别的平面方向/角度。因此,天生中心GUI元素204和十字线点206,以相对于外貌218共面表现。 如图2D所示,中心GUI元素204和十字线点206表现在检测到的外貌220上方,所述外貌与图2C的外貌218具有差别的平面方向/角度。因此,天生中心GUI元素204和十字线点206,以相对于外貌220共面表现。 放置三维箭头后,解释引擎102可以出现另一个三维箭头,所述箭头最初表现在三维捏造空间216中的固定位置,叠加在实时视图212,而且指向中心GUI元素的中心。如许,用户就可以在实时视图212所体现的环境中放置另一个三维箭头。 当用户在用户的环境中移动摄像头106时,用户放置的第一个三维箭头依然锚定在通过三维捏造叠加空间216放置第一个三维箭标的外貌之上。别的,第一三维箭头的巨细和/或第一三维箭头表现的角度可以根据第一三维箭头锚定到的外貌和通过实时视图212检察外貌的角度之间的隔断而厘革。 相干专利: Microsoft Patent | Systems and methods for placing annotations in an augmented reality environment using a center-locked interface https://patent.nweon.com/25083 名为“Systems and methods for placing annotations in an augmented reality environment using a center-locked interface”的微软专利申请最初在2021年3月提交,并在日前由美国专利商标局公布。 |

专注IT众包服务
平台只专注IT众包,服务数 十万用户,快速解决需求

资金安全
交易资金托管平台,保障资 金安全,确认完成再付款

实力商家
优秀软件人才汇集,实力服务商入驻,高效解决需求

全程监管
交易过程中产生纠纷,官方100%介入受理,交易无忧

微信访问
手机APP
关于我们|广告合作|联系我们|隐私条款|免责声明| 时代威客网
( 闽ICP备20007337号 ) |网站地图
Copyright 2019-2024 www.eravik.com 版权所有 All rights reserved.


